pcv阀结构图

pcv阀结构图
图片尺寸640x284
发动机pcv阀的检查 曲轴箱通风不良的原因及检修
图片尺寸736x447
pcv阀工作原理
图片尺寸673x357
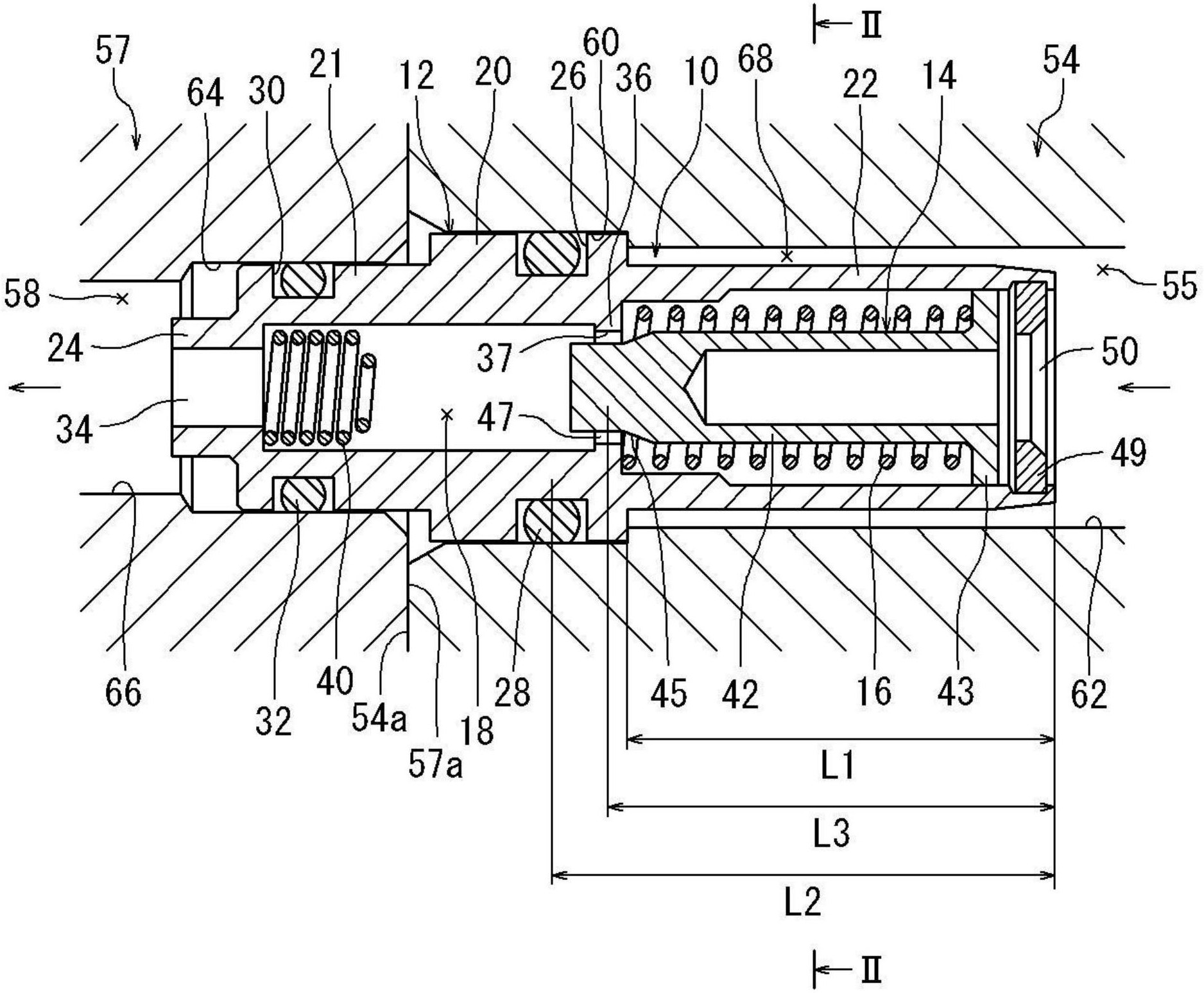
cn107762588a_pcv阀的安装构造在审
图片尺寸1876x1547
发动机pcv阀的检查 曲轴箱通风不良的原因及检修
图片尺寸539x377
一种具有抗气压骤变结构的pcv阀的制作方法
图片尺寸296x443
【pcv阀(曲轴箱强制通风阀)综合知识】图2
图片尺寸1495x623
pcv阀安装位置
图片尺寸640x431
pcv阀工作原理
图片尺寸431x327
哈电pcv阀说明书
图片尺寸893x1263
v型气动球阀结构原理图
图片尺寸600x600
一种v型槽微小流量调节阀
图片尺寸1000x688
国威说阀pcv阀作用是什么中文是什么
图片尺寸589x324
浅谈发动机曲轴箱强制通风系统(pcv )技术
图片尺寸1590x1573
防爆电动v型调节球阀结构图:电动v型调节球阀传动效率高,推力大,密封
图片尺寸600x284
一种带载可调电比例大流量单向节流阀
图片尺寸1522x1867
一种v型球阀
图片尺寸1086x1143
pcv阀工作原理
图片尺寸517x302
意大利geca/集咖avd80fo节能型 燃气电磁阀 pn16法兰口径dn80
图片尺寸790x1150
船用pv阀船用高速透气阀
图片尺寸600x684