photocoagulation

laser photocoagulation
图片尺寸254x372
laser-photocoagulation-around-retinal-tear-footage-088612670
图片尺寸1600x843
advances in cyclophotocoagulation: good, better, best options
图片尺寸1920x1080
advances in cyclophotocoagulation: good, better, best options
图片尺寸3902x2487
selective photocoagulation
图片尺寸2187x1665
laser cyclophotocoagulation surgery for glaucoma
图片尺寸960x501
early focal laser photocoagulation in acute central serous
图片尺寸2832x1094
endophotocoagulation probe
图片尺寸1919x3111
(a–b) laser photocoagulation technique of the worm includes the
图片尺寸1901x669
promote subretinal fibrosis after experimental photocoagulation
图片尺寸1280x1146
left fundus 24 hours after retinal scatter photocoagulation
图片尺寸602x842
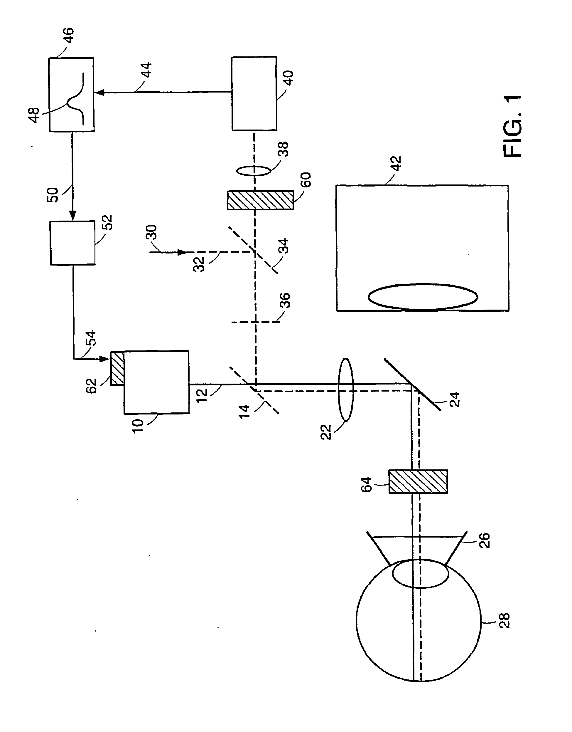
photocoagulation apparatus
图片尺寸1804x1890
endophotocoagulation probe
图片尺寸2320x3408
【cpc:青光眼经巩膜睫状体光凝】glaucoma cyclophotocoagulation
图片尺寸1280x720
5w 577 nm yellow laser for photocoagulation (ophthalmology)
图片尺寸800x800
sonde pour endophotocoagulation
图片尺寸1870x2777
photocoagulation selective
图片尺寸1949x2492
gas tamponade combined with laser photocoagulation therapy for
图片尺寸3499x2446
retinal photocoagulation laser / solid-state / tabletop
图片尺寸500x500
combined photocoagulation and photodynamic therapy
图片尺寸1231x1962