ps5手柄三视图

完美解决续航问题?索尼正在研发一款ps5手柄无线充电适配器
图片尺寸1200x885
最新流出的索尼专利曝光了ps5手柄的外观设计
图片尺寸1024x1004
索尼主机手柄新专利,背部增添双按键,或许为ps5设计?
图片尺寸1080x799
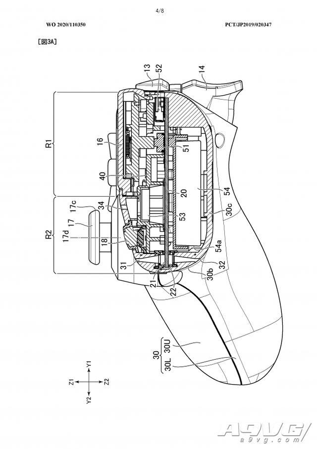
ps5手柄及开发机专利图公开展示内部结构散热超厉害
图片尺寸558x430
索尼控制器专利图片曝光 或许这就是ps5手柄的样子
图片尺寸550x492
ps5手柄专利曝光全新震动反馈系统手感体验更加真实
图片尺寸600x844
索尼playstation5dualshock手柄新专利
图片尺寸392x307
上天入地下海?ps5手柄自适应扳机专利
图片尺寸640x906
索尼ps5手柄设计图公布,加入类似精英手柄映射按键
图片尺寸1000x560
索尼ps5手柄专利图曝光与ps4相差无异
图片尺寸750x764
疑似索尼ps5手柄专利图片曝光 外形与ps4手柄差别不大
图片尺寸761x470
ps5手柄应不应该改名dualsense
图片尺寸450x339
ps5手柄专利再曝光能够收集玩家生理反馈改善游戏体验
图片尺寸336x340
索尼playstation5dualshock手柄新专利
图片尺寸865x491
疑似新款ps手柄造型设计被公开或许是ps5用的dualshock5手柄
图片尺寸640x528
专利图佐证索尼ps5手柄很可能配备语音交互用麦克风
图片尺寸650x500
ps5手柄dualsense专利显示 或支持语音操控和降噪
图片尺寸640x906
一种智能游戏手柄
图片尺寸1729x1014
索尼新手柄专利公开通过触摸板附件输出盲文
图片尺寸550x709![[图]英特尔游戏手柄专利曝光:布局云游戏市场?](https://i.ecywang.com/upload/1/img1.baidu.com/it/u=2237628416,814159628&fm=253&fmt=auto&app=120&f=JPEG?w=700&h=438)
[图]英特尔游戏手柄专利曝光:布局云游戏市场?
图片尺寸700x438