pvc伸缩节图片原理

一种水泵水轮机管路伸缩节结构
图片尺寸1637x981
维修保养
图片尺寸959x643
挤出成型简介
图片尺寸960x720
伸缩拐杖
图片尺寸810x2784
6 - 伸缩杆 - soopat专利搜索
图片尺寸800x1082
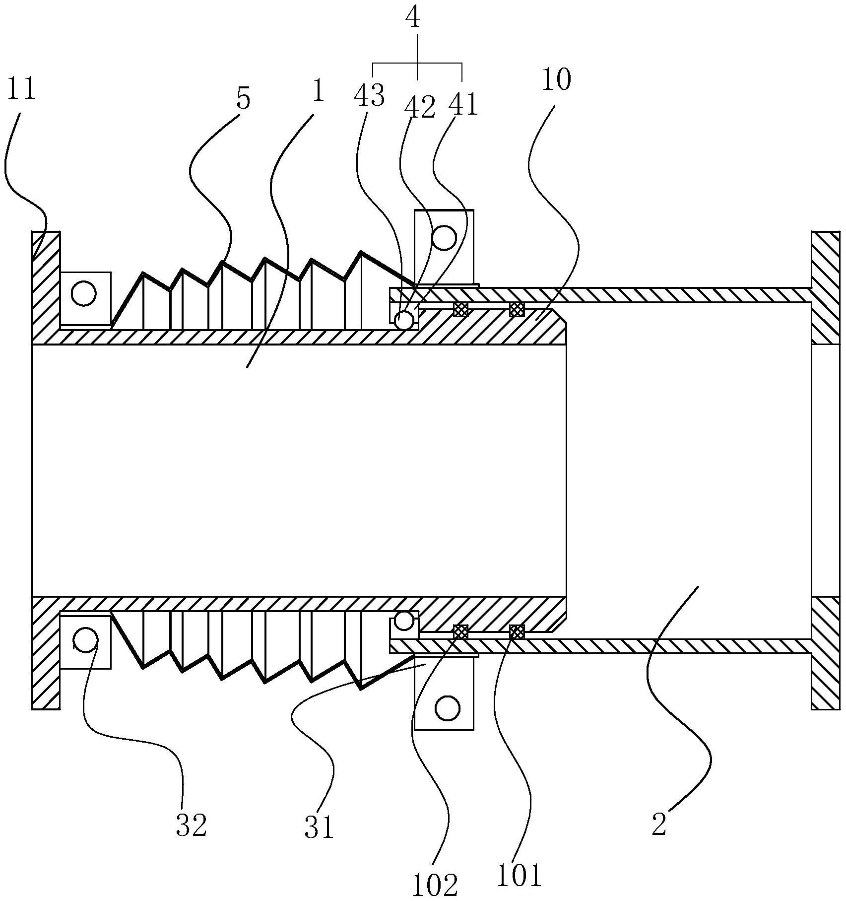
一种双端面复合密封陶瓷管道伸缩节
图片尺寸1758x1106
作者其他文章
图片尺寸700x779
浴帘伸缩杆的长度调节方式按浴帘杆长度调节方式主要分为全弹簧,微调
图片尺寸633x792
水电站免维护防漏型伸缩节
图片尺寸1763x988
背景技术:膨胀节习惯上也叫补偿器,或伸缩节.
图片尺寸828x1000
vssja-1/bf型单法兰松套限位伸缩接头
图片尺寸484x252
撼地 pvc排水管伸缩节 加厚下水管直接 10个装 75mm 螺纹伸缩活接
图片尺寸800x800
一种伸缩节的制作方法
图片尺寸1000x962
一种cpvcpvc管道伸缩补偿器
图片尺寸1705x1815
一种复式套筒伸缩节的制作方法
图片尺寸1000x709
用定距管和拉杆将同一塔节内的几块塔盘支承并固定在塔节内的支座上
图片尺寸593x835
pvc伸缩节的安装.
图片尺寸1080x810
关于pe管伸缩节你知道多少
图片尺寸548x324
pvc内外插伸缩节直接长款加长无台阶带螺口缩口下插快速接头对接
图片尺寸721x721
一种伸缩节
图片尺寸1708x1643