richu1

从印尼火遍世界说唱歌手richbrian的成名之路
图片尺寸500x584
日本贸易银元一元 明治三十六年1元龙洋大银币(大图展示)
图片尺寸1041x521
richbrian七哥高清自制壁纸
图片尺寸1080x1080
141671881年日本明治十四年龙壹圆银币一枚
图片尺寸1597x837
越南:1元镍币九个如图.归(公子不闲)
图片尺寸1089x1086
适用于vivoiqoou1新款小羊皮手机壳vivov2023a大眼睛硅胶保护套镜头
图片尺寸800x800
2020刺猬现场南京巡演时间地点门票价格
图片尺寸554x831
历经百年岁月洗礼的大日本明治二十一年一圆银币
图片尺寸1200x1200
孖宝系列u1cu1b
图片尺寸1080x720
u1rich参与圆桌对话
图片尺寸500x333
藏品鉴赏大日本明治三十七年一元日本龙洋
图片尺寸1080x1035
藏品鉴赏大日本明治三十七年一元日本龙洋
图片尺寸1080x1035
日本龙洋明治十三年一元银元店内92号银币
图片尺寸1801x1351
【rich】抢劫街角商店 * * 为了睡眠和放松而玩的角色
图片尺寸555x346
日本龙洋明治三十四年一圆
图片尺寸1076x1076
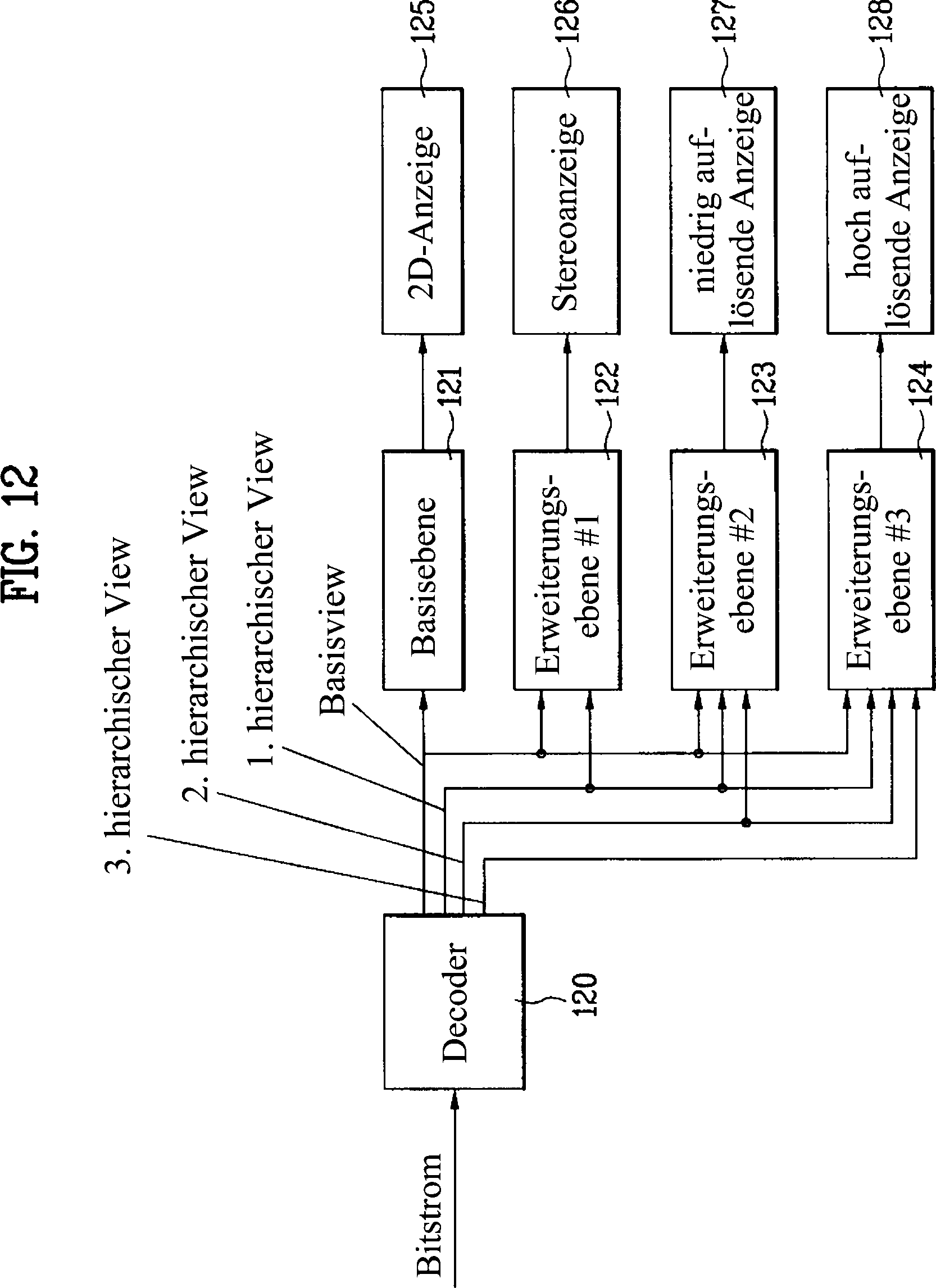
专利de202007019463u1 - multiview-video-verarbeitungsvorrichtung
图片尺寸1666x2293
4092明治三十六年日本龙银一圆银币一枚
图片尺寸2000x1047
明治三年/3年1圆/一元银币龙有盖戳,大名誉品银元
图片尺寸690x1323
个性发财英文rich适用vivo iqooneo5手机壳neo3保护套iqoo7软iqoo8/9
图片尺寸800x800
(z-679)金货 大日本 一圆 古銭 龙 明治七年 コレクション
图片尺寸898x1198