ro膜尾部接口示意图

(请立即替换您目前ro膜,立即享有最高净水品质,欢迎国内各式
图片尺寸786x1272
它的核心部件采用的是反渗透膜,在运用目前国际上最先进的逆渗透水
图片尺寸630x330
正品400g壁挂ro反渗透纯水机净水设备
图片尺寸750x421
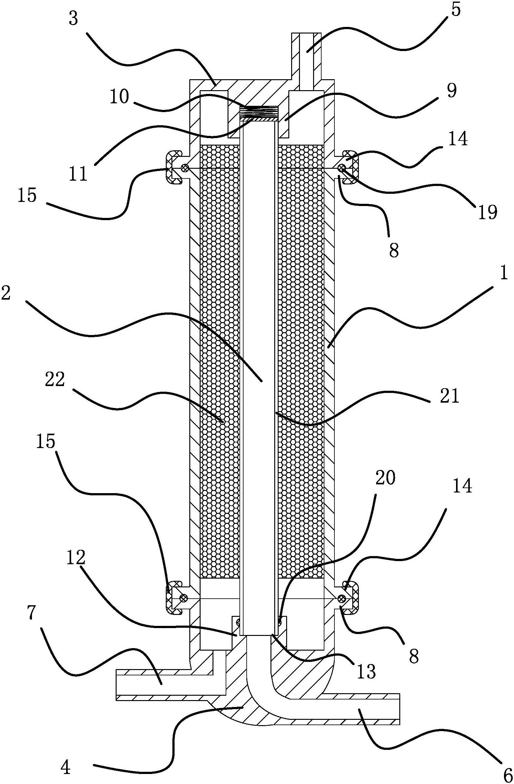
ro膜安装示例图
图片尺寸748x458
汇通反渗透膜ro膜2812-200g净水器滤芯 纯水机滤芯正品
图片尺寸750x1647
净水器配件 原装正品汇通膜 50gro膜 家用纯水机反渗透膜 干膜
图片尺寸300x300
ro膜
图片尺寸790x600
净水器十大品牌千野净水器006款土豪金ro膜反渗透家用
图片尺寸750x681
50g直饮机纯水机反渗透ro膜壳超滤膜壳
图片尺寸600x176
4040ro膜抗污染高低压ro膜8寸苦咸水淡化膜工业纯水反渗透膜
图片尺寸750x458
新泽泉带你了解直饮水机滤芯介绍
图片尺寸751x652
▼根据说明书,可以看到更换滤芯还是挺方便的,首先先来到净水器尾部
图片尺寸640x427
供应净水器耗材净水器耗材滤芯净水器活性炭净水器ro膜
图片尺寸661x690
反渗透膜也叫ro膜,是reverse osmosis membrane 的缩写.
图片尺寸441x351
ro膜反渗透滤芯 家用净水器配件75加仑纯水机通用ro膜 净水器滤芯
图片尺寸750x873
ro膜外壳的出水口p和c代表什么 哪个是纯水 沁园ro-185
图片尺寸2592x1936
老净水器升级佳尼特ctr500-c5反渗透净水器
图片尺寸640x395
9寸车机接口示意图_东方之子cross论坛_手机汽车之家
图片尺寸400x595
海尔(haier) hro5011-5 ro膜反渗透家用净水机 家用厨房高端净水器
图片尺寸750x908
一种反渗透膜壳-爱企查
图片尺寸1640x2504