rv减速器装配图

中邮·机械|人形机器人系列专题(九):rv减速器——重负载关节的潜力零
图片尺寸700x804
中邮·机械|人形机器人系列专题(九):rv减速器——重负载关节的潜力零
图片尺寸700x321
减速器装配图pdf
图片尺寸800x566
减速器设计装配图 cad代画代做,纯手工铅笔7315绘图 粗实线用hb
图片尺寸1766x1280
rv减速器全套cad图纸零件图机械零件装配图工业设计练习图
图片尺寸1069x704
rv减速器配齿优化设计
图片尺寸748x461
减速器装配图(三视图)
图片尺寸1331x1776
减速器装配图
图片尺寸1080x810
减速机厂家带你了解rv减速机
图片尺寸414x302
rv减速机结构
图片尺寸647x484
减速器装配图.dwg--点击预览
图片尺寸2338x1653
一级减速器装配图
图片尺寸1069x783
一级减速器装配图
图片尺寸972x676
一级减速器装配图
图片尺寸995x759
二级开式减速机装配图纸cadzip
图片尺寸2338x1653
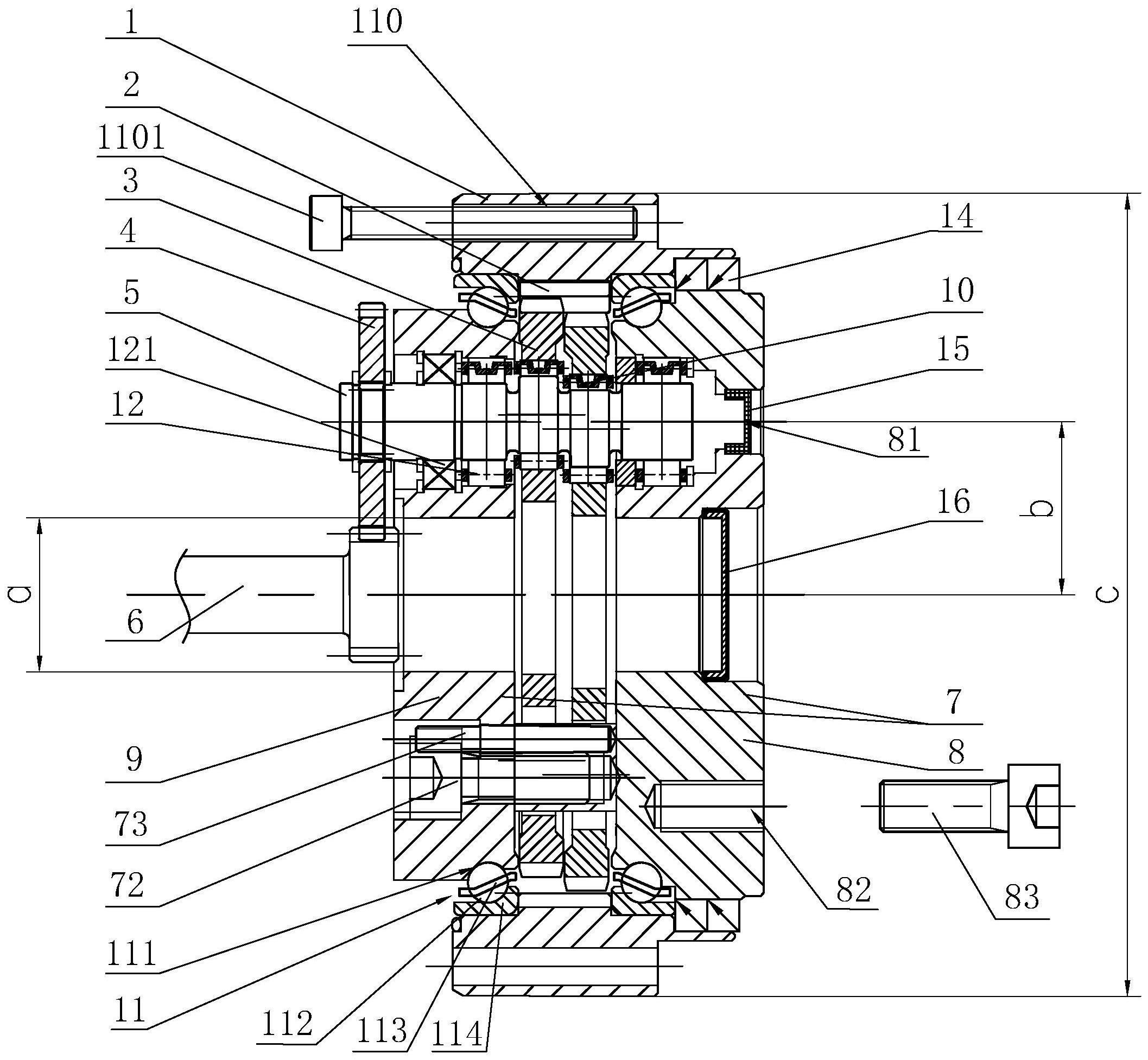
cn111895045b_一种新型结构rv减速机有效
图片尺寸2115x1953
减速器装配图
图片尺寸800x578
一种精密rv减速器的制作方法
图片尺寸320x444
rv减速机
图片尺寸800x450
一级齿轮减速器装配图_第2页
图片尺寸920x651