saccharification

simultaneous saccharification and fermentation (ssf) of
图片尺寸475x496
process for the saccharification of cellulose and cellulosic
图片尺寸2320x3408
analysis and optimization of simultaneous saccharification and
图片尺寸360x637
analysis and optimization of simultaneous saccharification and
图片尺寸638x573
analysis and optimization of simultaneous saccharification and
图片尺寸638x620
simultaneous saccharification and fermentation (ssf) of
图片尺寸897x380
analysis and optimization of simultaneous saccharification and
图片尺寸283x512
process for whole cell saccharification of lignocelluloses to
图片尺寸2005x2713
novel enzyme product and its use in the saccharification of
图片尺寸1806x2839
improved saccharification of cellulose by cloning and
图片尺寸1872x2733
on-farm solid state simultaneous saccharification and
图片尺寸357x580
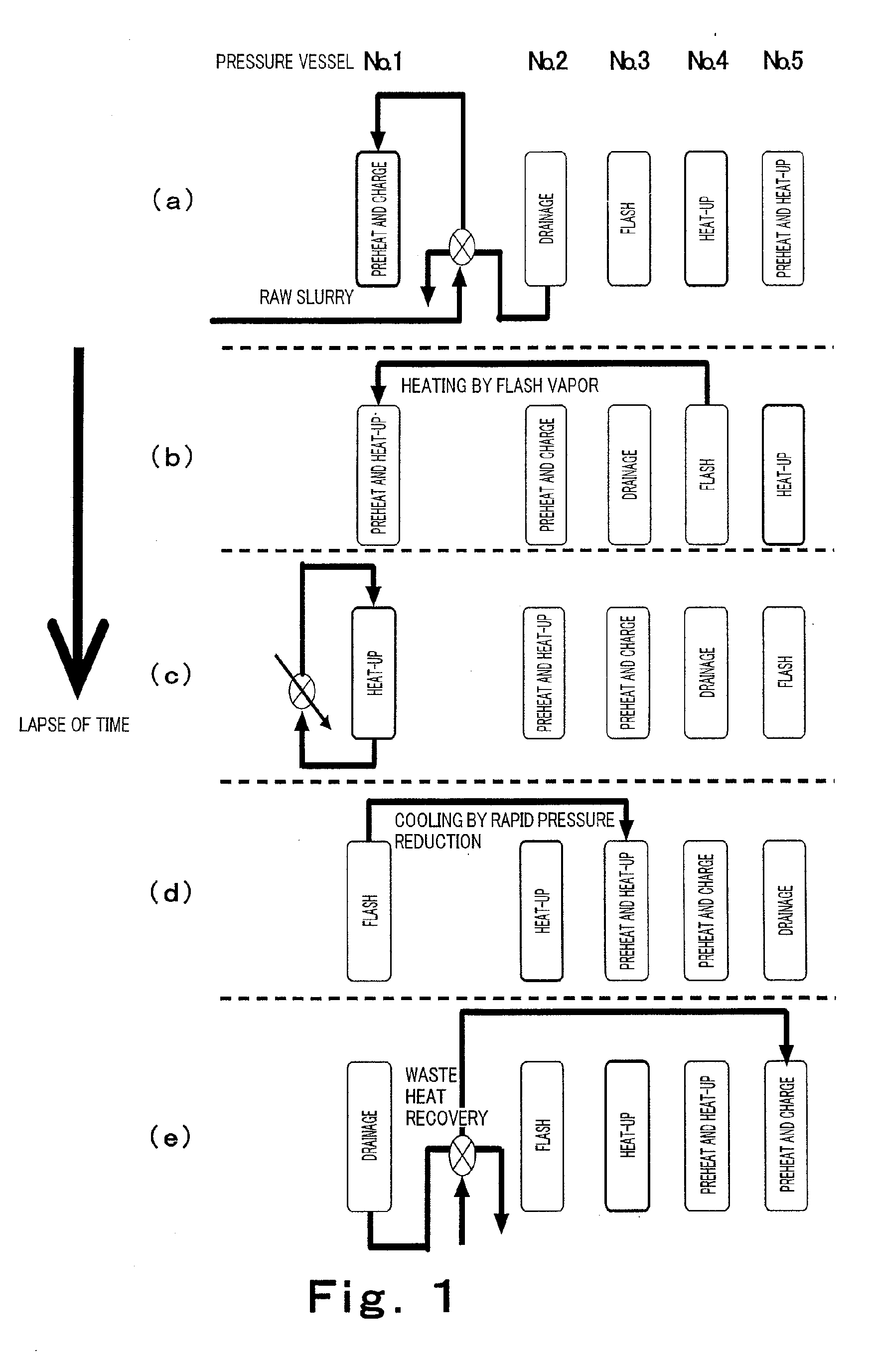
saccharification equipment
图片尺寸756x768
啤酒书
图片尺寸320x480
construction of consolidated bio-saccharification biocatalyst
图片尺寸785x555
cellulose enzymatic saccharification and preparation of 5
图片尺寸854x667
construction of consolidated bio-saccharification biocatalyst
图片尺寸1595x980
simultaneous saccharification and fermentation (ssf) of
图片尺寸1418x284
method and system for hydrolytic saccharification of a
图片尺寸1748x2752
improved saccharification of cellulose by cloning and
图片尺寸1902x2752
construction of consolidated bio-saccharification biocatalyst
图片尺寸898x591