scr反应器图纸

75t锅炉scr反应器施工图_autocad 2010_模型图纸下载 – 懒石网
图片尺寸1225x845
一种scr脱硝装置反应器结构-爱企查
图片尺寸895x1133
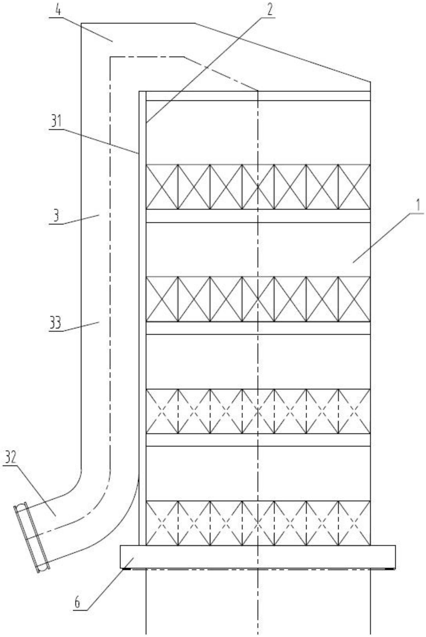
一种锅炉scr烟道及反应器
图片尺寸1704x2548
20t/35t锅炉脱硝反应器scr反应器燃煤锅炉脱硝反应器结构cad图纸
图片尺寸700x700
一种用于水泥窑炉脱硝的scr脱硝反应器
图片尺寸366x443
一种生活垃圾焚烧发电厂的低温scr反应器的制作方法
图片尺寸2097x2250
scr脱硝 电除尘器 脱硫燃煤/燃油锅炉烟气脱硫脱硝工程案例:scr反应器
图片尺寸1000x750
废气治理,scr脱硝反应器设计图纸,可打开成cad图
图片尺寸709x524
scr反应器的结构
图片尺寸920x1302
scr 反应器
图片尺寸687x577
一种多仓scr反应器烟气均流装置的制作方法
图片尺寸1207x794
一种scr脱硝系统的制作方法
图片尺寸372x444
一种scr反应器的制作方法
图片尺寸835x1000
一种烧结烟气scr脱硝系统氨水直喷及热风混合装置的制作方法
图片尺寸1635x1858
一种船用scr反应器
图片尺寸721x1083
一种scr催化剂在线更换反应器
图片尺寸1926x2830
技术 | 水泥窑六级预热器配套高温高尘scr反应器布置方法
图片尺寸386x741
scr反应器总图.rar
图片尺寸2338x1653
河北畅乾环保设备公司专业生产scr,高分子,sncr和氧化法脱硝设备,并
图片尺寸1775x1280
一种箱式scr反应器的制作方法
图片尺寸2007x1114