sheetsof

sheets of empty canvas
图片尺寸500x500
50 sheets of ncr duplicate book
图片尺寸650x1011
6 old sheets of paper textures 137389311
图片尺寸680x410
100 sheets of draft paper notebook student blank math calcul
图片尺寸640x640
a pack of 16 sheets of " canson mi-teintes " pastel paper colour
图片尺寸346x500
40 sheets of fine sandpaper (400-5000 grit) dry/wet waterpro
图片尺寸800x800
two sheets of embossed letter stickers one gold and one silver
图片尺寸400x300
metalsheetsofcopper
图片尺寸300x300
100 sheets of air fryer liner perforation baking parchment o
图片尺寸1000x1000
notebook on sheets of the goffered cardboard
图片尺寸1600x1067
judging method of sheets, notes, etc.
图片尺寸1152x1576
640 sheets of draft paper writing te notebooks mathematica
图片尺寸800x800
120g a4 100 sheets of self adhesive ink printing paper/pack
图片尺寸800x800
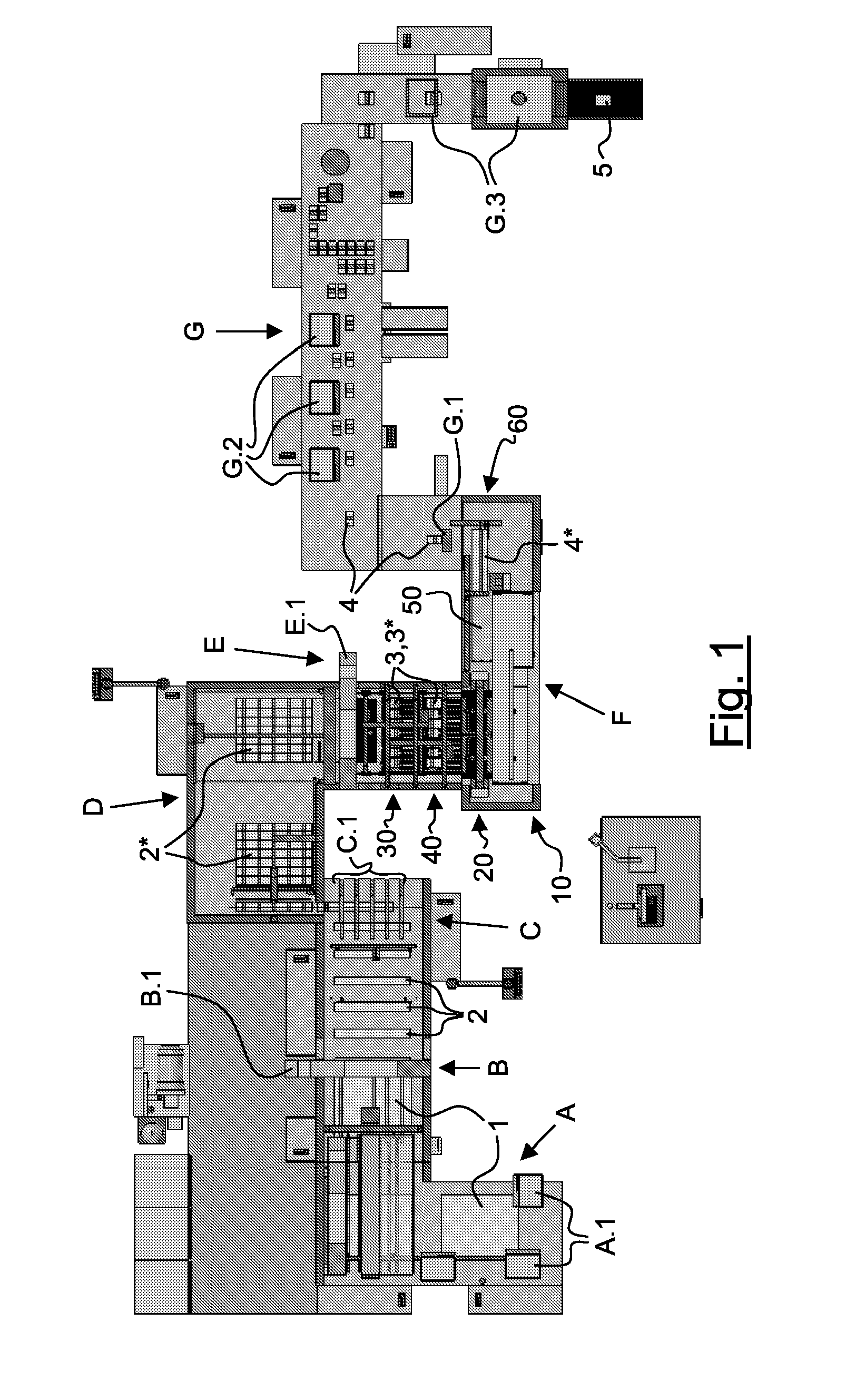
device and method for the processing of stacks of sheets of
图片尺寸1606x2657
100 sheets of air fryer liner perforation baking parchment
图片尺寸800x800
4 sheets of movin on epoxy stickers - ships free
图片尺寸400x380
12x12 wool felt sheets - the naturals collection - 7 sheets of
图片尺寸400x400
judging method of sheets, notes, etc.
图片尺寸1568x2096
罗杰斯先生 20 张永久 usps 邮票庆祝儿童聚会 5 sheets of 20 白色
图片尺寸1500x1448
13 sheets of vintage medium weight hand made japanese washi
图片尺寸300x400