solidworks折弯工程图

怎么做圆弧的钣金折弯 - solidworks - 三维网 - powered by discuz!
图片尺寸690x592
高分求关于sw折弯r角的确定,有模具图,谢谢.
图片尺寸1840x3264
sw四边折弯钣金图怎么画
图片尺寸1188x864
哪个大神教教我这个图用solidworks怎么画这个折弯图!
图片尺寸1280x720
solidworks钣金拆图:用配置管理器做折弯加工图(学员小灶)
图片尺寸1024x576
solidworks等轴测钣金折弯件出三视图不是标准正投影视图,如何调整?
图片尺寸462x480
solidworks动画之钣金折弯
图片尺寸780x460
薄板子弯曲机钢板材折弯机3d三维几何数模型solidworks含参手动
图片尺寸579x615
solidworks钣金折弯在生产中的应用
图片尺寸305x318
solidworks插件_博士钣金 自动工程图自动标注折弯
图片尺寸2944x1592
钣金厂出折弯图的另一种方法
图片尺寸648x564
弯管的建模-solidworks
图片尺寸1728x1080
solidworks钣金折弯
图片尺寸538x538
请问solidworks如何折弯折出褶边的效果,就是如何折弯拍平
图片尺寸500x269
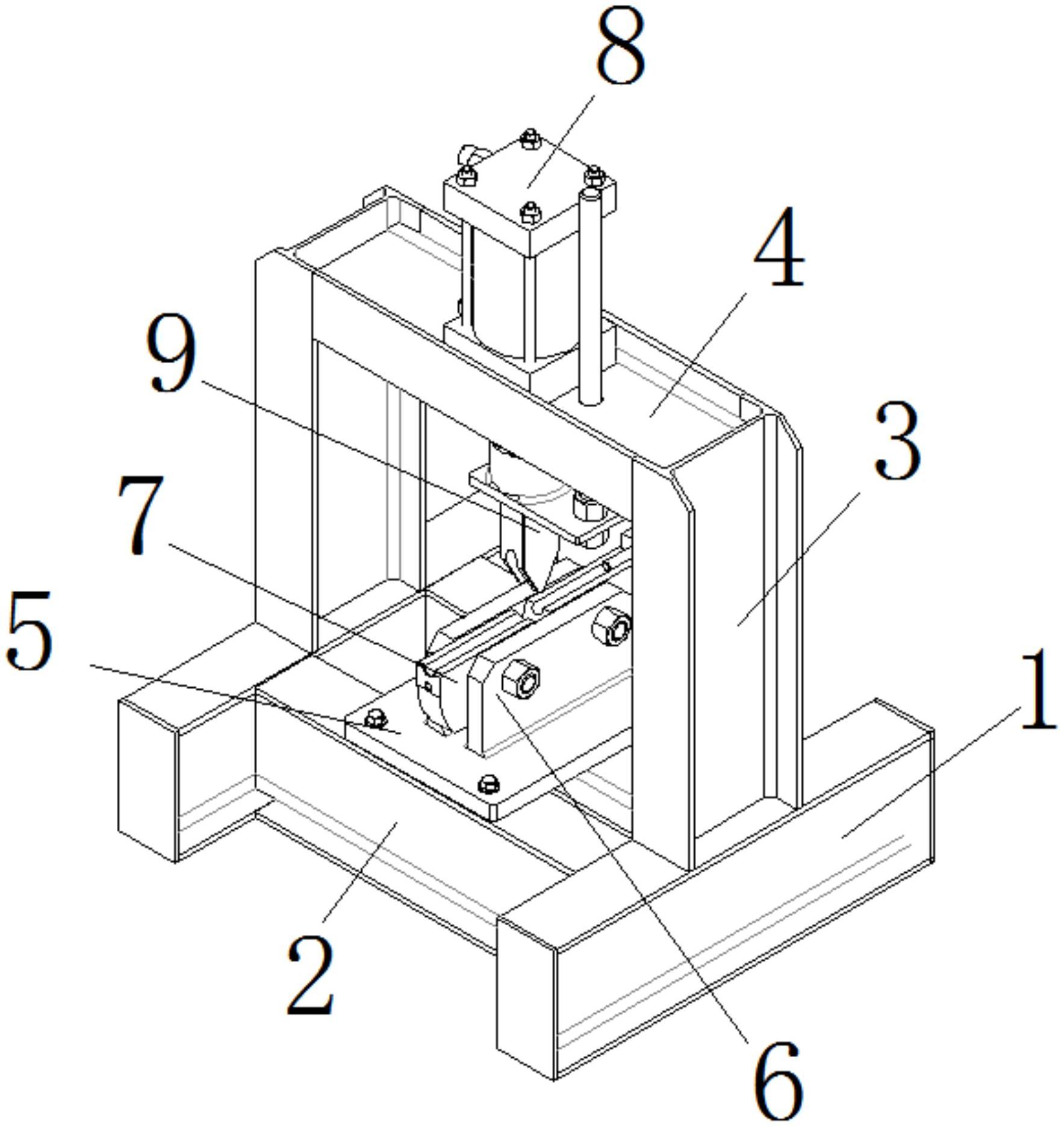
一种用于电子器件折弯的装置
图片尺寸1767x1871
solidworks2010 能画如下图的弯折吗?红色的是折弯线 折弯半径是5
图片尺寸657x522
钣金公司折弯图纸 是要求绘图员怎么绘制的————是给你个实物要你
图片尺寸756x475
钣金件(折弯)
图片尺寸1043x617
折弯片弯曲模具设计模型
图片尺寸820x552
折弯机(全套图纸)
图片尺寸1200x800