t型滑枕结构图片

一种龙门加工中心滑枕装置-爱企查
图片尺寸504x776
优化的龙门加工中心滑枕优化设计
图片尺寸1260x638
一种卧式加工中心滑枕结构
图片尺寸1826x1463
请教各位机械专业人士,下图中红圈里的具体结构,(龙门镗铣床的滑枕
图片尺寸1944x1636
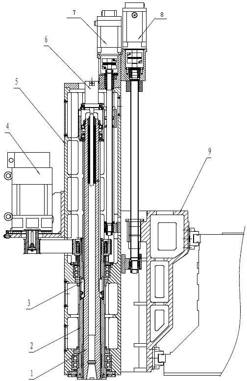
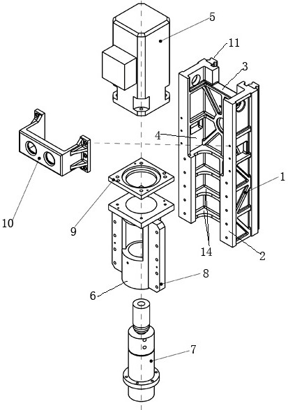
一种用于龙门加工中心的环抱式滑枕的制作方法
图片尺寸759x1000
一种立式车床滑枕的配油装置
图片尺寸1000x783
一种分体式滑鞍滑枕
图片尺寸1000x777
对龙门加工中心滑枕的结构进行有限元分析,在optistruct中对滑枕结构
图片尺寸945x1072
及其运动结构,包括机床床身,x轴线轨,工作台,立柱,横梁,y轴线轨和滑枕
图片尺寸1851x1791
一种数控龙门机床的滑枕的制作方法
图片尺寸1000x859
lgmc系列 t型滑枕结构
图片尺寸715x488
一种龙门雕铣机的滑枕结构-爱企查
图片尺寸413x588
01)i 发明名称 方滑枕 发明人 董爱珍;任璐;张侠 申请人 济南二机床
图片尺寸1639x1159
龙门加工中心直联主轴滑枕组件
图片尺寸359x587
数控立式加工中心滑枕导轨结构的设计研究
图片尺寸545x313
一种整体龙门框架滑枕摆头式五轴加工中心
图片尺寸862x1000
一种龙门加工中心用方滑枕结构
图片尺寸341x523
一种长行程嵌套式滑枕及其龙门机床的制作方法
图片尺寸302x443
请教各位机械专业人士,下图中红圈里的具体结构,(龙门镗铣床的滑枕
图片尺寸1944x2592
gruⅡ系列机型采用400方滑枕全包容导轨形式,适合大扭矩,重切屑的产品
图片尺寸400x404