t梁模板吊具设计图

50吨横梁吊具
图片尺寸673x507
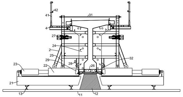
一种预制t梁模板拆装吊具的制作方法
图片尺寸444x428
55吨横梁吊具cad图纸
图片尺寸780x503
一种双t梁活动吊具的制作方法
图片尺寸443x244
液压t梁钢模板高效施工系统-爱企查
图片尺寸598x319
a液压t梁模板
图片尺寸950x505
t梁剖面图内容简介 其中包括: 30m t梁中梁平
图片尺寸820x470
3t梁模板1
图片尺寸600x450
50米t梁钢模板设计图
图片尺寸849x589
山东铁鹰建设工程有限公司是一家集钢结构模板设计制造及桥梁,隧道
图片尺寸500x666
t型梁钢模板高铁箱梁模板现浇箱梁模板定制
图片尺寸400x400
吊具|t梁模板|伟志钢模板厂家,郑州钢模板厂家,桥梁钢模板0371
图片尺寸560x746
泸州服务好的t梁不锈钢模板,t梁不锈钢模板
图片尺寸280x300
t梁模板
图片尺寸800x600
又快了,3天安装完一套梁场钢筋笼吊具
图片尺寸640x480
t梁模板
图片尺寸2551x2126
永腾牌 横梁吊具
图片尺寸752x942
预制箱梁顶板钢筋网片吊具设计及其应用
图片尺寸1200x473
桥梁模板桥梁钢模板t梁钢模板
图片尺寸1920x1082
t梁钢模板
图片尺寸600x400