t梁模板图纸

pdf 28页
图片尺寸860x1218
20米t梁毕业设计(论文 dwg图纸)
图片尺寸1200x800
t梁结构图
图片尺寸1440x1020
新规范25米连续t梁设计全图-路桥工程图纸-筑龙路桥市政论坛
图片尺寸928x665
28板梁拱桥钢天桥箱梁悬索构桥梁t梁设计全套cad施工图纸平 - 抖音
图片尺寸1440x3018
50米t梁钢模板设计图-路桥工程图纸-筑龙路桥市政论坛
图片尺寸849x589
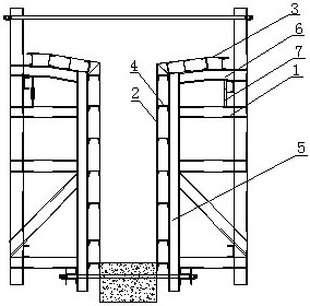
一种分离式t梁模板的制作方法
图片尺寸1000x966
20米t梁毕业设计(论文 dwg图纸)
图片尺寸1200x800
25mt梁模板安装示意图.png
图片尺寸760x361
t梁剖面图内容简介 其中包括: 30m t梁中梁平
图片尺寸820x470
一种可调节横坡的t梁,箱梁模板-爱企查
图片尺寸284x280
投稿网友:anita323415(已上传图纸1套) 所属分类:环保工程 上传时间
图片尺寸716x508
50米t梁钢模板设计图-路桥工程图纸-筑龙路桥市政论坛
图片尺寸971x678
40米预应力简支t梁(新规范)端横隔板钢筋布置图节点
图片尺寸1440x1020
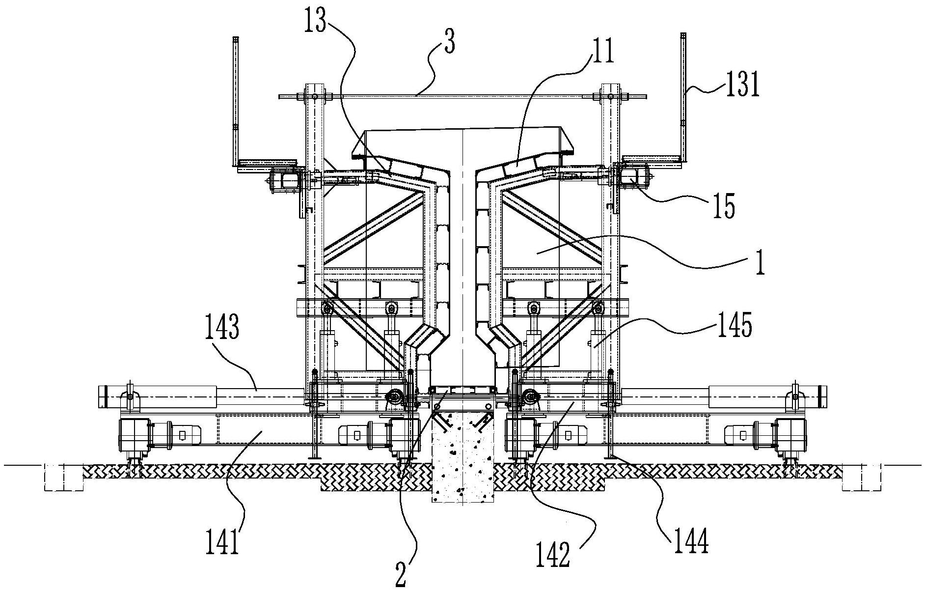
cn112900228a_一种设有波形钢腹板的无预应力的t形梁
图片尺寸1860x1912
《【021】120米t梁毕业设计机械毕业设计带cad图》
图片尺寸841x576![[分享]25米t梁图纸资料免费下载](https://i.ecywang.com/upload/1/img1.baidu.com/it/u=3887144557,351189053&fm=253&fmt=auto&app=138&f=JPEG?w=500&h=262)
[分享]25米t梁图纸资料免费下载
图片尺寸760x398
无忧文档 所有分类 工程科技 交通运输 20m简支t梁桥
图片尺寸1222x1725
附图摘要本实用新型公开了一种预制t梁滑动底模,包括台座,滑动模板;所
图片尺寸1687x1004
纵向的两侧镜像设置两组侧模组件,各所述侧模组件均包括多个模板主体
图片尺寸1886x1205