testable

testable integrated circuit and test data generation method
图片尺寸2156x1849
passive electrically testable acceleration and voltage
图片尺寸2204x2627
integrity testable multilayered filter device
图片尺寸1513x2629
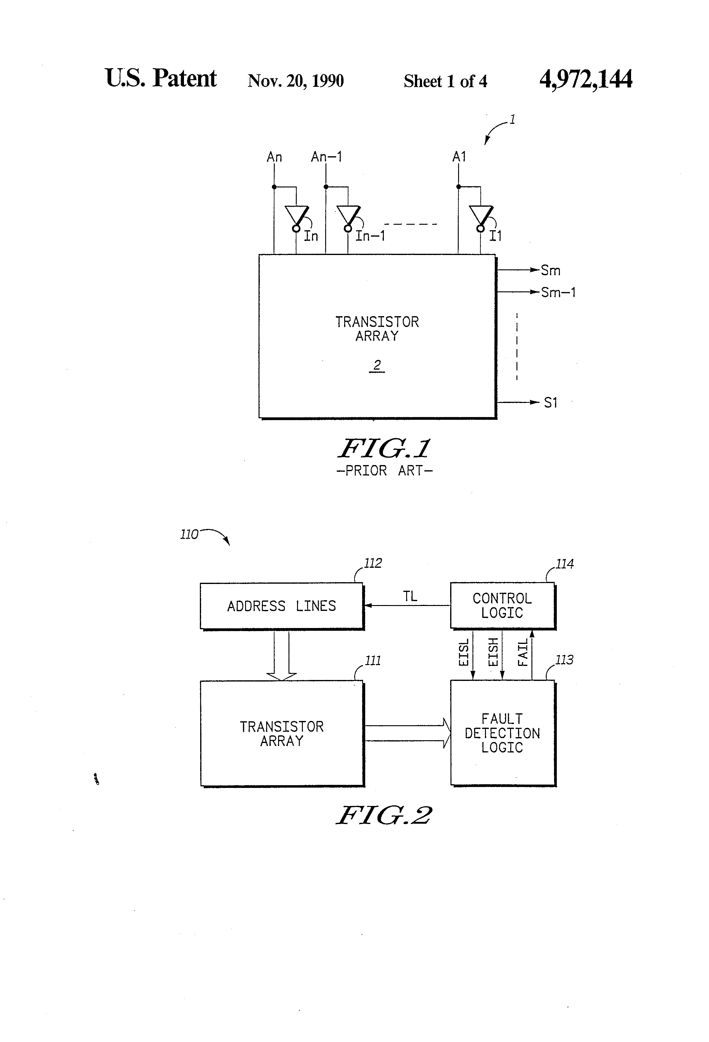
m1 testable addressable array for device parameter
图片尺寸1585x2471
testable electrostatic discharge protection circuits
图片尺寸1682x2815
testable electrostatic discharge protection circuits
图片尺寸2131x3187
testable multiple channel decoder
图片尺寸2320x3408
预订 angularjs: novice to ninja: elegant, powerful, testable
图片尺寸311x400
m1 testable addressable array for device parameter
图片尺寸2030x2744
semiconductor memory having testable redundant memory cells
图片尺寸2065x2614
使用阿里巴巴的testable轻松进行单元测试
图片尺寸640x827
swift - ios系统自带单元测试学习笔记_@testable swift-csdn博客
图片尺寸468x240
digital-to analog converter accurately testable without
图片尺寸1824x3071
scan testable register file
图片尺寸1713x2552
testablejavascript2013
图片尺寸1258x974
testable design methodology for clock domain crossing
图片尺寸2033x2929
component level, cpu-testable, multi-chip package using grid
图片尺寸5282x3518
locating a testable object in a functional testing tool
图片尺寸1915x2191
【预订】testing and testable design of
图片尺寸350x350
scan testable register file
图片尺寸2064x2879