u型换热器结构图

u型管式换热器
图片尺寸1233x684
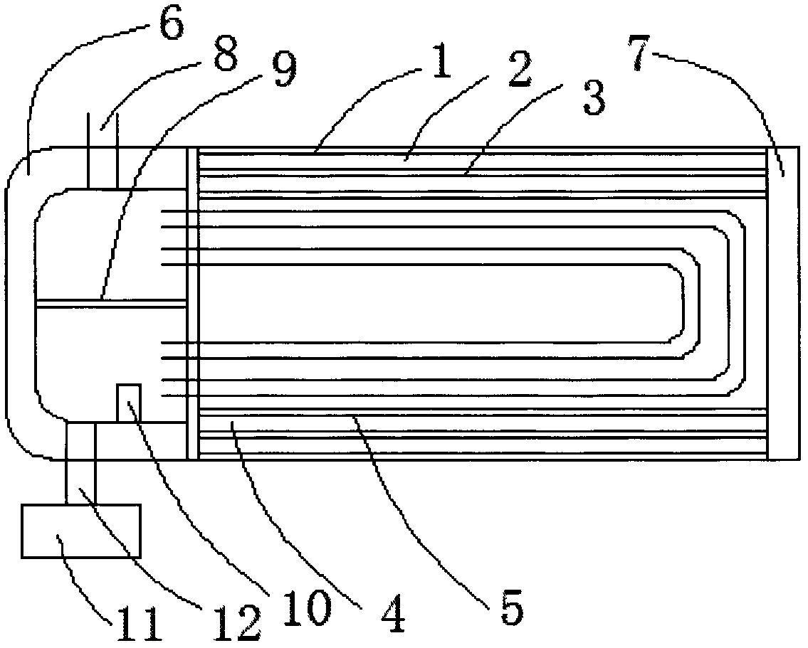
一种u型管换热器的制作方法
图片尺寸1000x502
u型管换热器详解有哪些优点
图片尺寸554x488
厂家供应 高效节能锅炉用配套换热设备 u型管式换热器 加工定制
图片尺寸637x320
一种u型管式换热器的制作方法
图片尺寸1000x569
储气库地面站场u型管换热器的失效分析
图片尺寸1032x514
1,u型管式换热器三,换热器8,减压阀7,气动薄膜阀6,节流阀5,角型调节阀
图片尺寸402x261
u型管换热器装配图cad图纸
图片尺寸3051x2190
1.u型管式热换器
图片尺寸800x600
346平方u型换热器全套图
图片尺寸517x632
复合板u型管换热器
图片尺寸573x429
一种具有高温高压管程结构的u形管式换热器
图片尺寸452x1000
u型管式换热器图片
图片尺寸750x312
换热器图
图片尺寸3576x2526
换热器原理是什么有什么注意事项
图片尺寸600x428
背景技术:换热器也称为热交换器或热交换设备,是用来使热量从热流体
图片尺寸1000x531
u型管管壳式换热器工作原理
图片尺寸670x361
u型管式换热器图
图片尺寸467x417
首页 行业动态 专业知识 浮头式换热器浮其结构特点是两端管板
图片尺寸392x254
一种u型管换热器-爱企查
图片尺寸1135x911