u型梁 结构图

针对u型梁结构特点,项目经理部选用全自动液压滑模系统.
图片尺寸640x412
万能的抖音,有干过u型梁的吗?想请教一下,#路桥 #路桥工程 #梁场
图片尺寸1080x2400
u型梁施工工艺ppt
图片尺寸1080x810
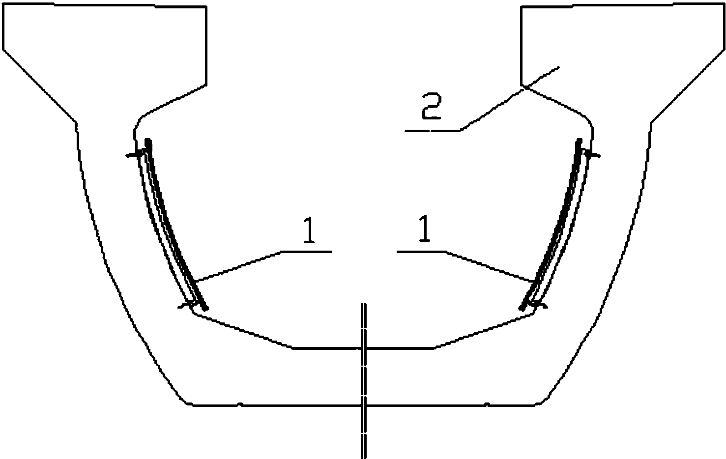
一种u型梁体智能养护系统的制作方法
图片尺寸1000x568
5m,25m,30m;u型梁结构为钢筋预应力混凝土结构,其外形设计尺寸为:梁高
图片尺寸640x370
液压u型梁模板加工内模外模含下料图
图片尺寸781x543
单线u型梁结构顶宽5.45 m,开口宽4.05 m,跨中截面梁高1.8 m,底板厚0.
图片尺寸728x876
一种地铁u型梁设计拼接结构
图片尺寸1685x1238
一种地铁u型梁设计拼接结构的制作方法
图片尺寸1000x735
一种吸声型u形梁的制作方法
图片尺寸1000x452
cn206319269u_地铁u型梁泡沫铝基材声屏障有效
图片尺寸1477x934
上海建工 u型梁场
图片尺寸680x510
梁怎么读(梁怎么读组词)
图片尺寸800x600
轨道交通大吨位先张法预应力混凝土u型梁及其张拉台座制造技术
图片尺寸1000x506
城轨u型梁冬季施工蒸汽养护棚装置-爱企查
图片尺寸668x355
钢筋混凝土梁结构施工图识读2
图片尺寸920x690
房梁
图片尺寸2510x1783
房梁
图片尺寸2055x1888
单向板肋梁楼盖
图片尺寸632x474
用于吊运u型梁钢筋骨架的吊具制造技术
图片尺寸1000x495