u型槽围护结构

cn204919575u_路基边坡防护u型网格骨架有效
图片尺寸1000x922
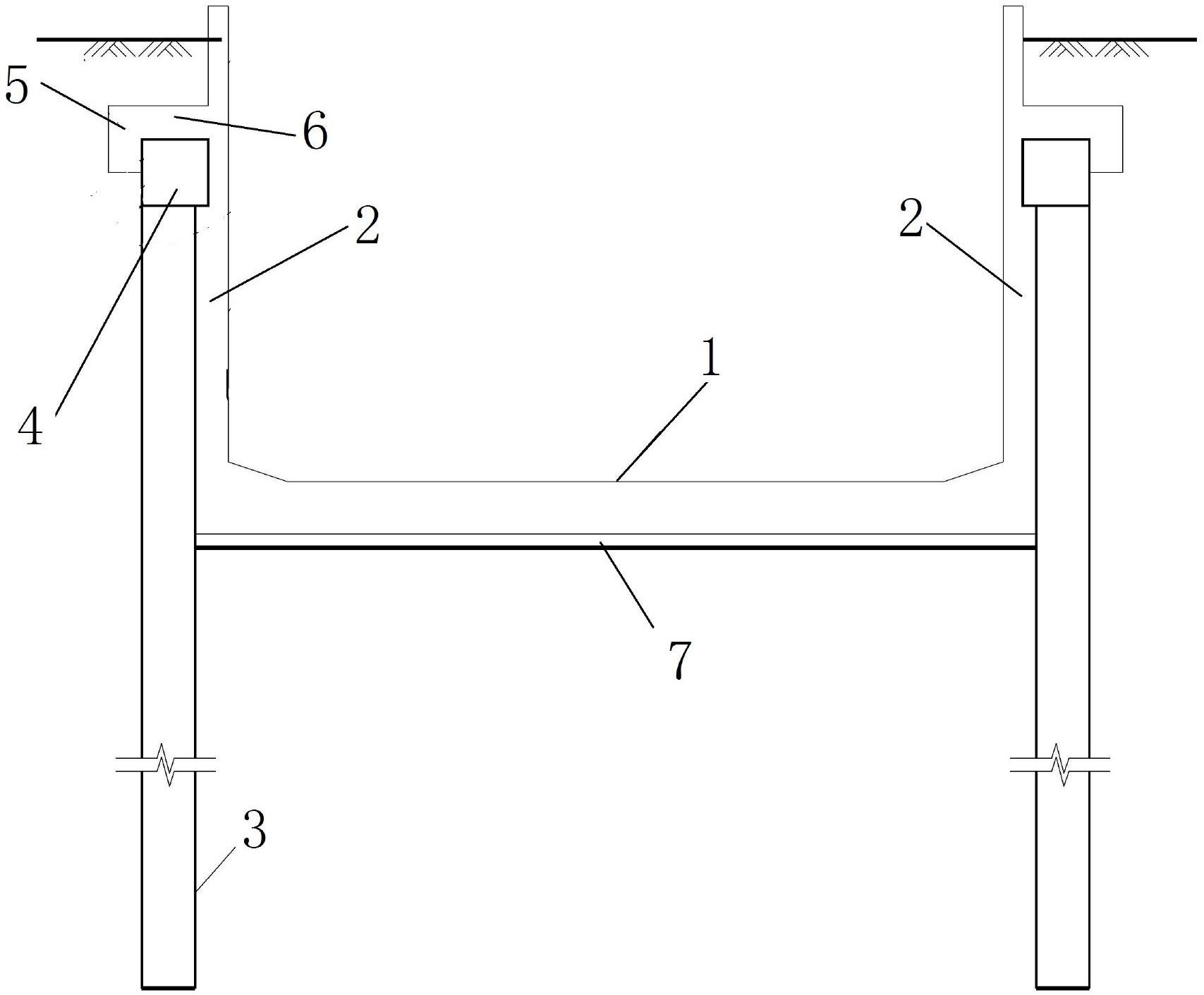
本实用新型提供一种u型槽敞口复合结构,包括底板,边墙,冠梁和围护桩
图片尺寸1707x1411
中创深圳树脂线性排水沟不锈钢盖板u型铸铁双层成品缝隙式排水槽
图片尺寸750x1072
西泾港水泥制品厂水泥成品排水沟 水泥u型槽水泥明沟一体式明沟板35
图片尺寸1689x1145
该u型槽道在结构上由u型可连接活动转接件的连接座和底部l型强固筋
图片尺寸1055x960
树脂混凝土排水沟u型槽成品 缝隙式不锈钢线性塑料盖板庭院排水槽 19.
图片尺寸750x1089
u型槽厂家在安装施工时的方法
图片尺寸640x853
塑料排水沟 线性pe排水沟u型槽下水道沟槽庭院地沟水槽园林排水槽
图片尺寸753x800
重庆站-重庆水泥u型槽生产厂家-成都白驹腾飞建材有限公司
图片尺寸800x600
玻璃钢排水沟 u型槽排水沟
图片尺寸750x750
新消息通辽线性塑料排水沟u型槽来电咨询
图片尺寸600x600
u型槽敞口复合结构制造技术
图片尺寸1000x827
u60分水闸工程-u型槽配套建筑物设计图
图片尺寸610x432
排水沟槽u形304不锈钢线型排水沟u型槽厨房卫生间u形排水沟槽下水道
图片尺寸790x963
花南玉成品排水槽树脂线性排水沟u型槽雨水导流槽厨房下水道不锈钢
图片尺寸790x1074
u型槽布置及结构设计图
图片尺寸560x420
预制混凝土u型槽水渠成型机一次性水泥u型渠道成型机
图片尺寸600x800
水泥u型槽价格
图片尺寸2338x1080
与承台连接部位,三级沉淀池与排水沟连接位置,高度,u型槽围护结构施工
图片尺寸553x275
渠道u型槽钢模板-u型槽钢模具-混凝土u型槽钢模板
图片尺寸860x1146