u型锁结构

一种u型锁锁头
图片尺寸1571x2103
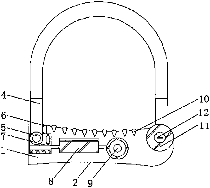
一种u型锁结构的制作方法
图片尺寸1000x803
一种带报警功能的u型锁的制作方法
图片尺寸851x904
一种u型指纹锁的制作方法
图片尺寸989x1000
cn204715914u_高强度u型密码锁失效
图片尺寸708x1000
一种u型密码锁的制作方法
图片尺寸855x1000
cn208267592u_一种报警u型锁有效
图片尺寸877x783
一种报警u型锁的制作方法
图片尺寸1000x890
一种智能u型锁的制作方法
图片尺寸721x1000
一种u型密码锁制造技术
图片尺寸933x1000
谁知道这种锁的内部构造?有图最好.和一般的弹子锁有什么区别?
图片尺寸619x316
一种u型锁的制作方法
图片尺寸779x1000
cn104234529a_u型密码锁的新结构有效
图片尺寸1000x612
cn203271318u_u型密码锁的新结构失效
图片尺寸1000x612
一种智能u型锁及其开锁方法
图片尺寸1578x1968
一种u型密码锁制造技术
图片尺寸1000x958
一种u型密码锁的制作方法
图片尺寸1000x685
一种防水智能u型锁的制作方法
图片尺寸958x1000
品威适用门锁室内卧室通用型 单舌孔距130黑色房间门把手锁具家用实木
图片尺寸750x513
一种u型锁锁体结构的制作方法
图片尺寸1000x791