uasb厌氧反应器图纸

uasb上流式厌氧反应器总图cad图纸
图片尺寸645x430
uasb厌氧反应器的工艺与工作流程
图片尺寸437x469
一种改进型uasb厌氧反应器的制作方法
图片尺寸740x1000
uasb厌氧反应器
图片尺寸627x538
一种脉冲布水式uasb厌氧反应器的制作方法
图片尺寸988x1000
dn8400厌氧uasb反应器环保cad图纸
图片尺寸1070x592
厌氧罐uasb厌氧反应器湖南大有环保免费提供解决方案
图片尺寸750x750
uasb 升流式厌氧污泥床 升流式厌氧反应器 厌氧罐
图片尺寸1440x1020
uasb厌氧反应器的制作方法
图片尺寸485x1000
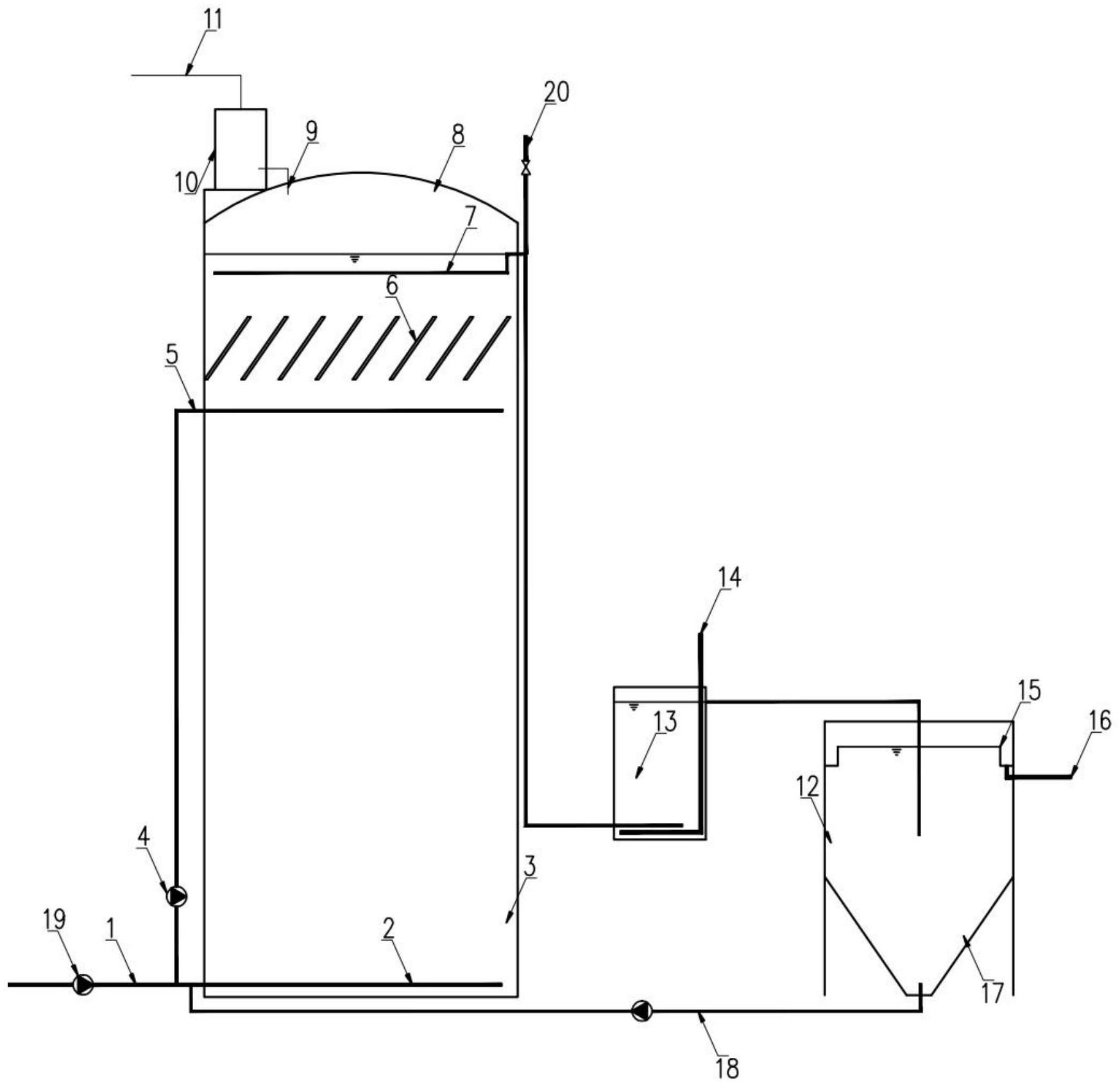
一种改进型uasb厌氧反应器
图片尺寸1754x2375
一种uasb厌氧反应器布水结构的制作方法
图片尺寸1179x1333
啤酒废水处理钢制uasb反应器加工图
图片尺寸1440x1020
用于污水处理uasb反应器
图片尺寸1266x1429
uasb反应器cad图纸
图片尺寸808x580
uasb厌氧反应器
图片尺寸311x274
一种基于uasb的新型厌氧反应器及处理系统
图片尺寸1746x1696
一种高效uasb厌氧反应器的制作方法
图片尺寸696x1000
一种内循环uasb厌氧反应器装置的制作方法
图片尺寸378x444
uasb反应器总图
图片尺寸1020x1440
厌氧uasb施工图纸
图片尺寸299x242