varicella zoster

预订 varicella-zoster virus: genetics, pathogenesis and immunity
图片尺寸332x499
varicella-zoster virus reactivation from multiple ganglia: a
图片尺寸600x801
【预订】natural history of varicella-zoster
图片尺寸242x346
varicella-zoster virus reactivation from multiple ganglia: a
图片尺寸600x798
the varicella zoster virus causes chickenpox in children, then
图片尺寸2000x1333
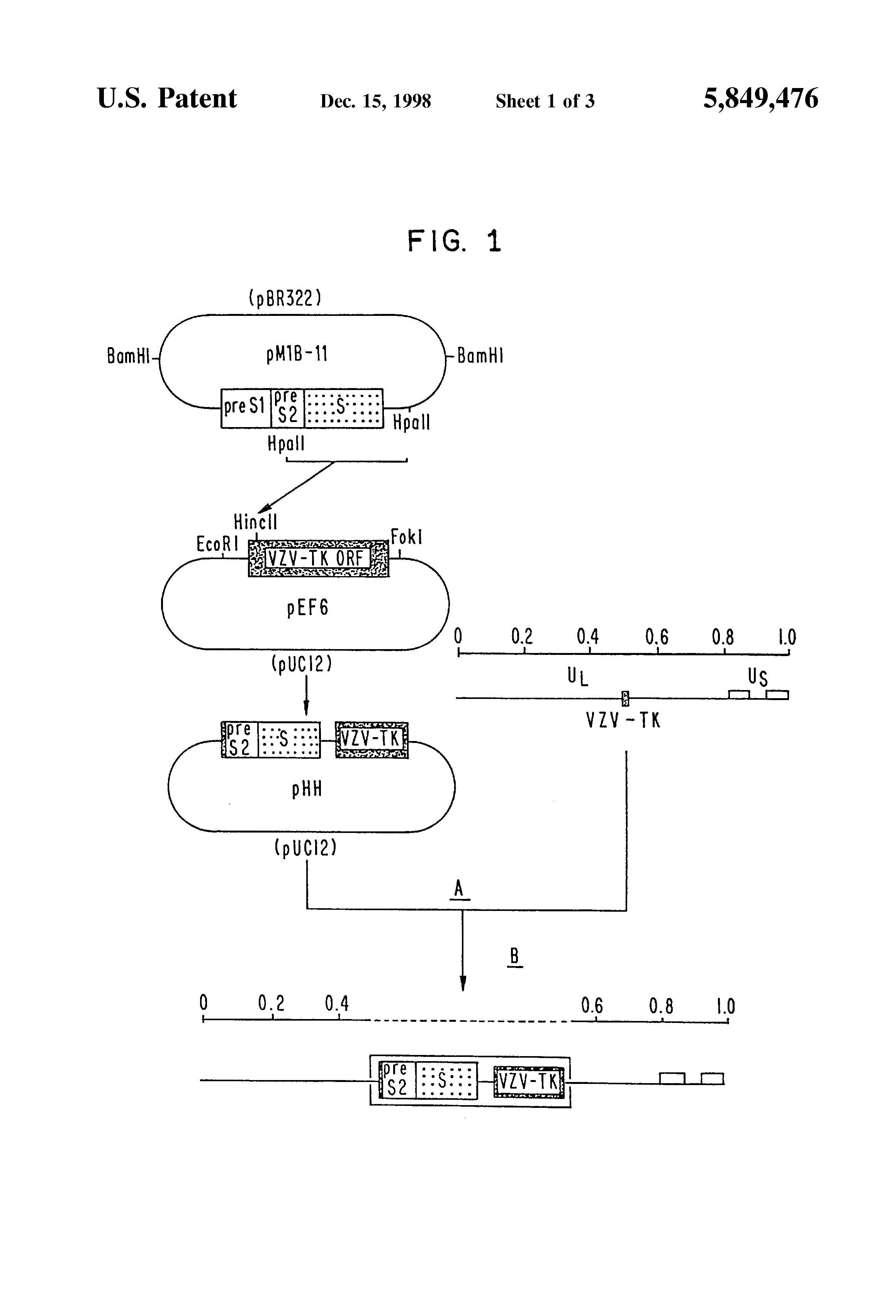
recombinant varicella-zoster virus and process for constructing
图片尺寸2320x3408
【预订】varicella zosters - a medical dictionary
图片尺寸500x500
p>水痘-带状疱疹病毒(varicella-zoster virus,vzv)是指在儿童初次
图片尺寸2048x1536
【预订】varicella-zoster virus
图片尺寸330x500
预订 高被引varicella-zoster virus epithelial keratitis
图片尺寸371x499
【预订】varicella-zoster virus epithelial keratitis in
图片尺寸500x500
agent for and method of diagnosis of varicella zoster virus
图片尺寸1663x2737
【预订】varicella-zoster virus
图片尺寸500x500
medical illustration of the varicella zoster virus
图片尺寸1500x1245
recombinant varicella-zoster virus and process for constructing
图片尺寸2320x3408
varicella-zoster virus transfer to skin by t cells and
图片尺寸1280x946
varicella zoster virus
图片尺寸1024x1588
recombinant varicella zoster virus orf26
图片尺寸263x273
vecteur viral recombinant de type varicella-zoster
图片尺寸1680x1541
variant varicella-zoster viruses and methods of use
图片尺寸2359x3311