vocal tract

声道vocaltract构成
图片尺寸400x401
英语学习 chapter 2 phonology 1ppt 3 cavities of the vocal tract
图片尺寸1080x810
vocal tract pharyngeal cavity glot tis/throat pharynx, velum
图片尺寸1080x810
下呼吸道感染lowerrespiratorytractinfection
图片尺寸1440x1852
a tour of the human vocal tract (language development 16)_哔哩
图片尺寸1152x720
scans at leeds general infirmary the 3d-print of his vocal tract
图片尺寸2132x1416
articulatory phonetics the study of how the vocal tract
图片尺寸1190x892
fold),滤波器指的是软腭,舌头,鼻腔,口腔等组成的声道(vocal tract)
图片尺寸463x262
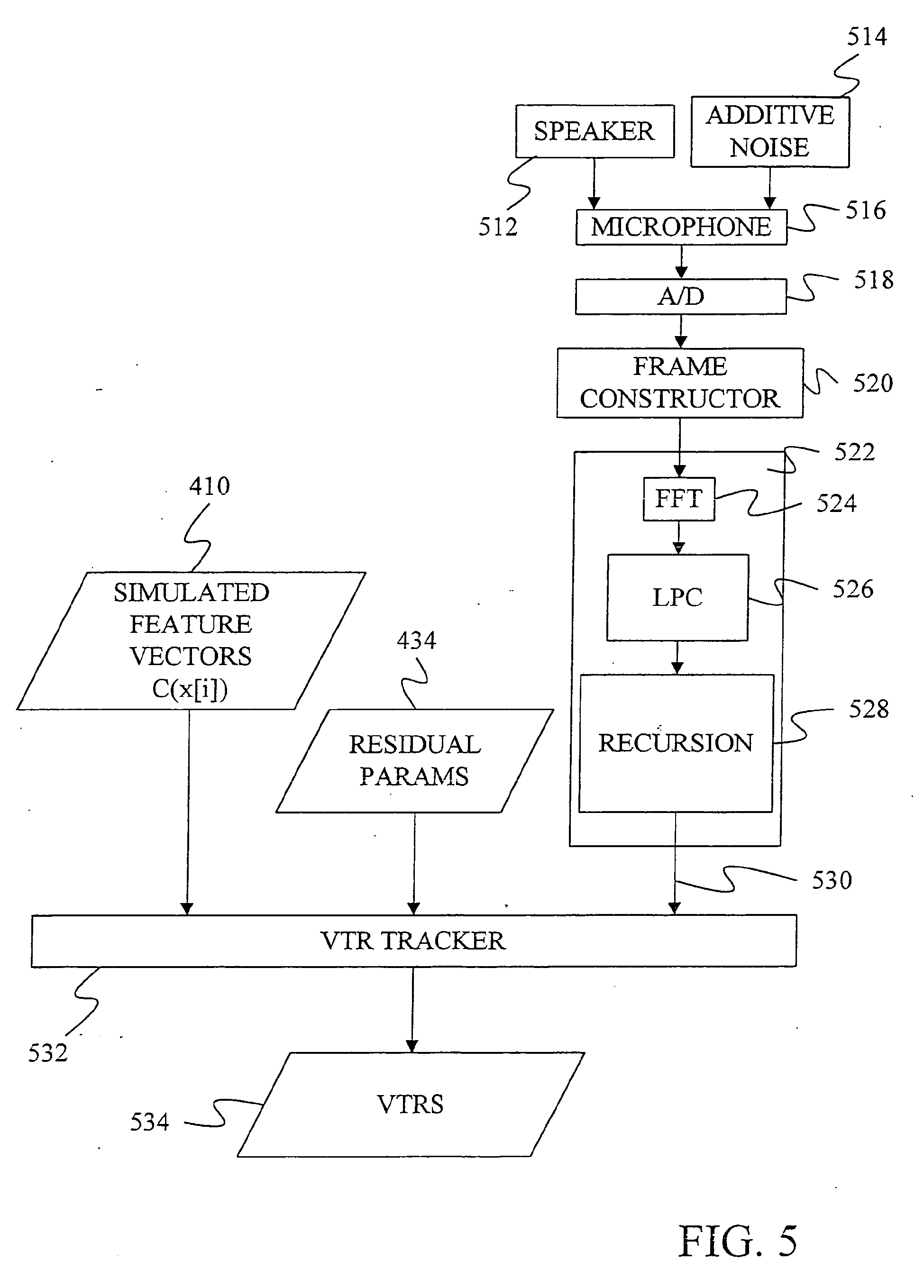
apparatus and methods for vocal tract analysis of speech signals
图片尺寸1535x1244
time dependence of vocal tract modes during production of vowels
图片尺寸668x496
支原体 mycoplasma pneumoniae, respiratory tract parasite.
图片尺寸1080x810
apparatus and methods for vocal tract analysis of speech signals
图片尺寸1765x1803
vocal tract resonance tracking using a target-guided constraint
图片尺寸1949x2717
vocal tract resonance tracking using a nonlinear predictor and a
图片尺寸1925x2681
海外直订analysis and modelling of vocal tract & emotional speech
图片尺寸800x800
time dependence of vocal tract modes during production of vowels
图片尺寸664x446
vocal tract resonance tracking using a nonlinear predictor and a
图片尺寸1949x2669
low latency real-time vocal tract length normalization
图片尺寸1887x1130
low latency real-time vocal tract length normalization
图片尺寸1992x2566
urinary tract infection in children
图片尺寸673x460