voith电液转换器接线图

5v的error信号进行24v电平转换,接入电路后原信号电压莫名被拉低至1.
图片尺寸3264x1840
双法兰差压液位变送器
图片尺寸700x1194
q4-v静电电压表 国宁仪器_接线图分享
图片尺寸600x392
求继电器控制的水箱自动补水电路图.
图片尺寸489x627
展开全部 加个电源转换器就行了啊
图片尺寸750x500
电动汽车转换器怎么接,电动汽车转换器接线图
图片尺寸1000x588
三垦变频器空转指令的切换问题.急急 .
图片尺寸1319x883
电动车60v转换器转12v接线图
图片尺寸662x401![voith wsr-d16212/e524电液转换器说明书:[3]](https://i.ecywang.com/upload/1/img1.baidu.com/it/u=3789553844,2559543966&fm=253&fmt=auto&app=138&f=JPEG?w=500&h=711)
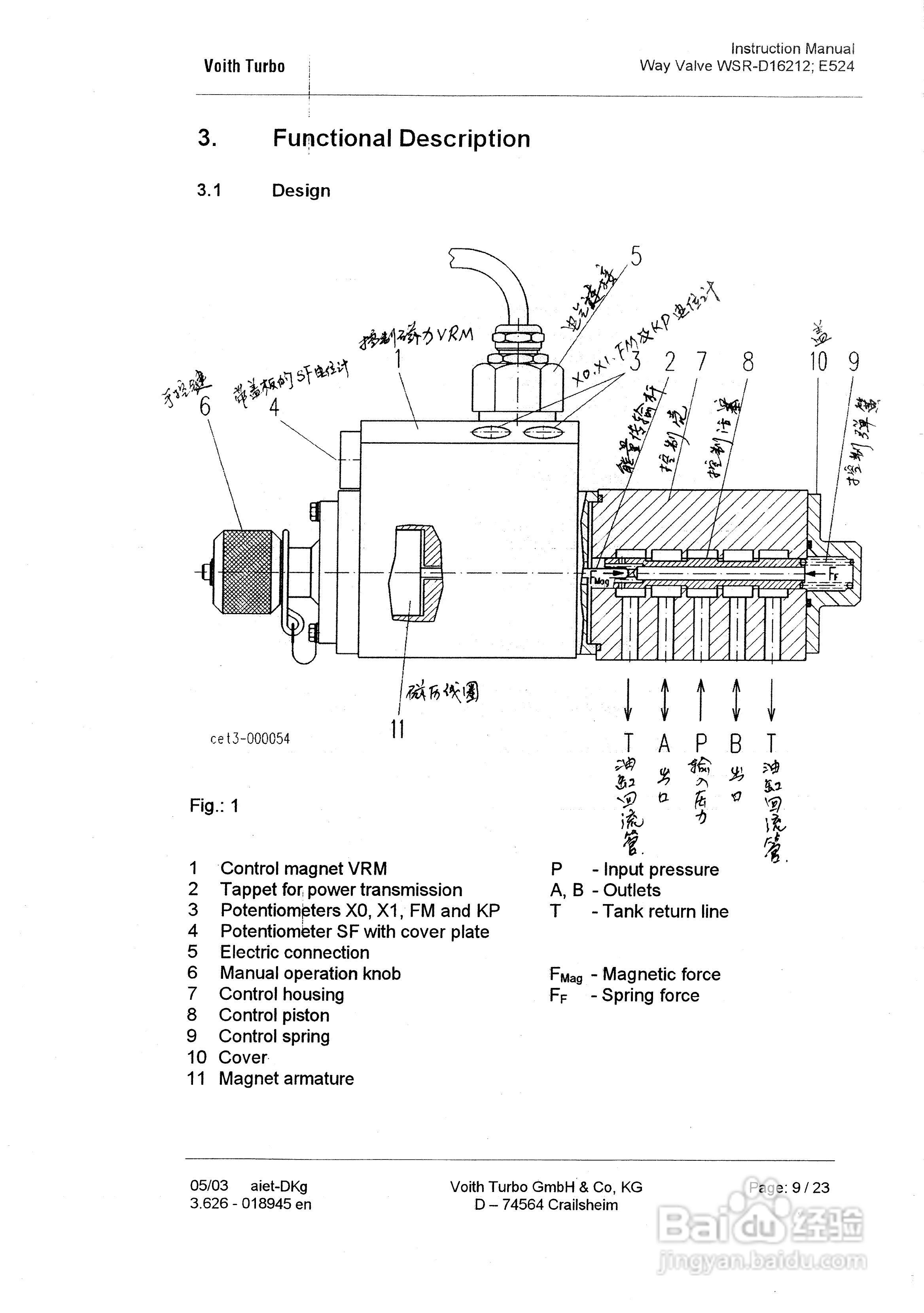
voith wsr-d16212/e524电液转换器说明书:[3]
图片尺寸2336x3320
dsg-b07212电液转换器
图片尺寸460x329
48v转12v10a直流转换器120w大功率稳压器dcdc车载电源转换器
图片尺寸800x600
液位变送器接线方法_液位变送器的工作原理
图片尺寸530x405
变频器怎样用转换开关手动自动切换
图片尺寸707x461
青岛佰利鑫投入式液位变送器传感器420ma水位变送器水油箱液位计
图片尺寸749x486
驰炫 适用于电动车转换器48v转12v转换器60v36v72v电压电瓶dc通用纯铜
图片尺寸750x915
金属软管型液位变送器接线图
图片尺寸690x884
图- 产品中心 - 沈阳永鑫恒远电气技术有限公司
图片尺寸520x267
电动电瓶车转换器48v72v84v96v120v60v转12v转换器直流变压器通用 36v
图片尺寸778x443
twt东炜庭单相220v分离型ss22-40w调速控制器
图片尺寸780x916
dw45框架式自动转换控制器液晶显示带油机启动 一台起批
图片尺寸1920x1332