wifi定向天线图纸

wifi定向天线的结构及原理图
图片尺寸453x351
自制远距离wifi接收天线wifi天线仿真自制铜片wifi天线
图片尺寸950x1824
自制远距离wifi接收天线wifi天线仿真自制铜片wifi天线
图片尺寸1654x1654
自制高增益wifi定向天线3个
图片尺寸875x650
80和160米的环形回路天线
图片尺寸1464x1828
一种wifi双频双馈线全向天线
图片尺寸1682x932
4g wifi 最合适菱形天线制作详细方法
图片尺寸1198x1684
diywifi天线手册1
图片尺寸544x768
80和160米的环形回路天线
图片尺寸1464x1828
wifi6有哪些优势?_百科-8s新商盟
图片尺寸1661x894
最佳wifi天线选择指南
图片尺寸1313x617
cn106067595b_超宽带电小定向天线有效
图片尺寸1844x1035
1.9m 400-450 mhz 12.5dbi增益 定向八木天线
图片尺寸2480x3146
司天线制作----作者wifi_9939三单元反射阿摩司天线制作及测试 图纸
图片尺寸686x1496
一种天线装置以及波束调整的方法
图片尺寸1820x1267
蓝牙倒f型天线的设计与测量
图片尺寸715x346
一种卫星通信使用的外置有源天线的制作方法
图片尺寸916x1000
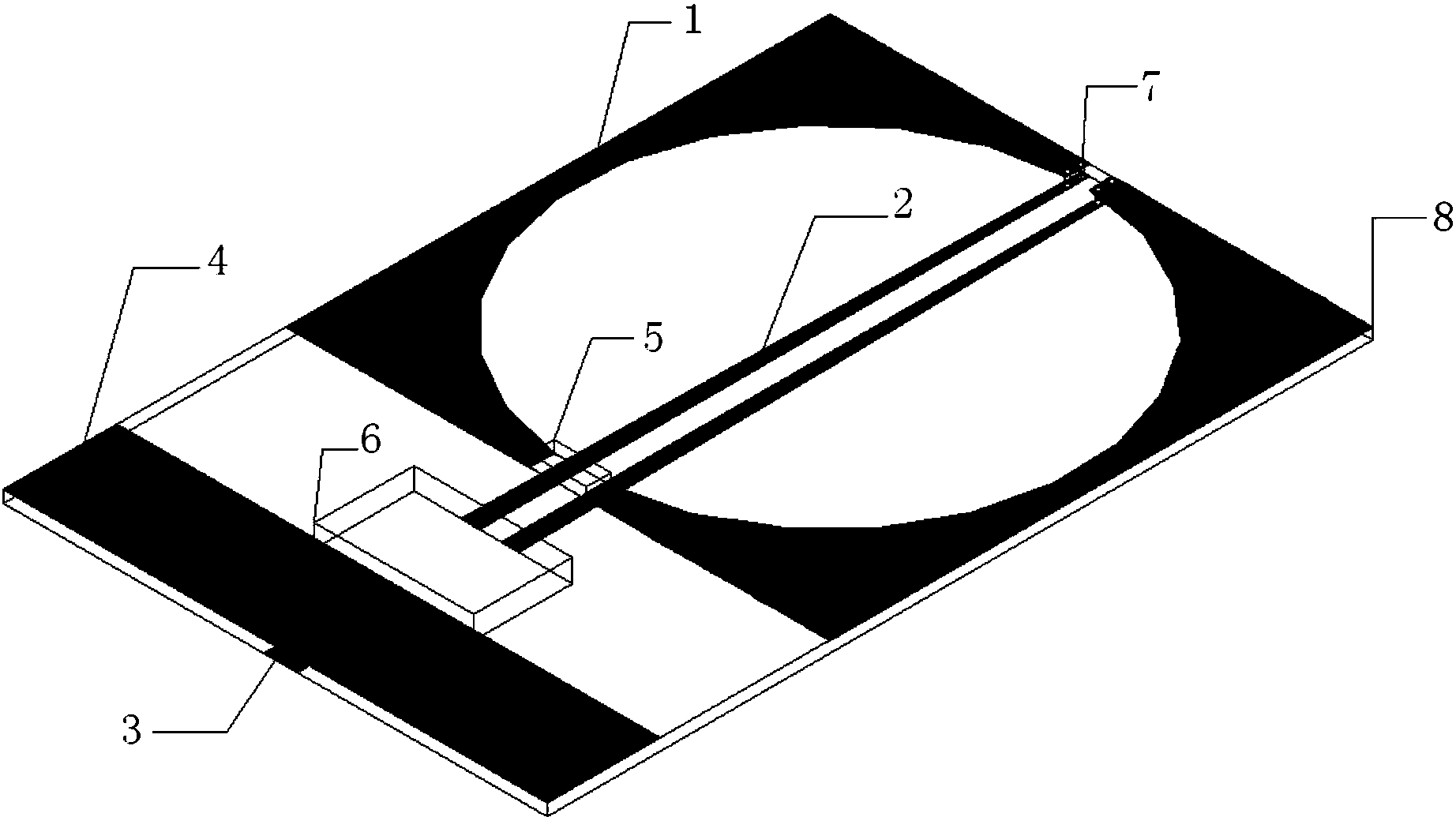
一种wifi天线的制作方法
图片尺寸801x1000
一种双wifimimo天线及采用该天线的全金属笔记本的制作方法
图片尺寸1000x585
一种伞状便携式卫星通信天线的制作方法
图片尺寸825x1000