x射线发射器制作

【手工】简单好玩的发射器
图片尺寸1080x809
【科研知识】一文了解 x 射线衍射(xrd)知识重点
图片尺寸494x357
简单又好玩的发射器
图片尺寸1080x1442
科研神器 | 带你了解x射线衍射仪(xrd)
图片尺寸640x426
xrb160pn480/1 monoblock03 工业x射线发生器
图片尺寸500x500
大型仪器
图片尺寸1896x1518
北京北光世纪仪器有限公司-成功案例
图片尺寸920x690
点燃科技梦想,创新引领成长——陈中实验学校科技周系列活动展示
图片尺寸900x900
x射线装置
图片尺寸1200x900
x射线机的组件包括平板panle探测器,可根据客户要求的规格;3.
图片尺寸3307x3307
x射线机的组件包括平板panle探测器,可根据客户要求的规格;3.
图片尺寸3307x3307
order)出售bt-xs20移动式便携式高频x射线放射设备x射线机us$15,575.
图片尺寸480x480
59 全部评论 大家都在搜: 天瑞仪器原厂 粉丝 51 获赞 102 关注 x射线
图片尺寸750x1000
所述壳身内设有x射线发生器和内部电源,所述壳
图片尺寸1535x1461
x射线机的组件包括平板panle探测器,可根据客户要求的规格;3.
图片尺寸3307x3307
xrt01 x射线发生器(电源 x射线管一体机)
图片尺寸988x424
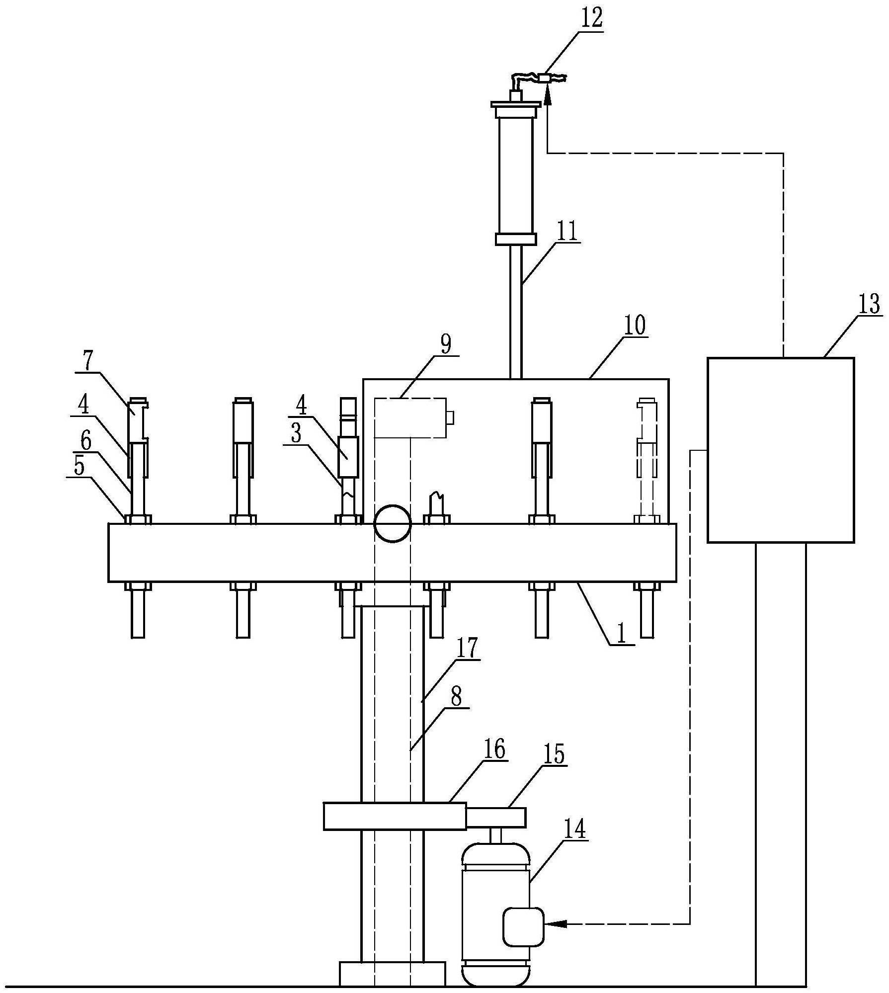
贯穿检测台的中心处设有立杆,立杆上固定安装有x射线发射器,x射线发射
图片尺寸1789x1998
以及一x射线探测器,接收所述x射线;所述束光器包括一信号发射器和一
图片尺寸1868x1826
乐普医疗-乐普装备医用血管造影x射线机
图片尺寸1600x1066
摘要附图摘要本实用新型公开了一种在线ct机,包括机架,x射线发射器,x
图片尺寸1423x1469