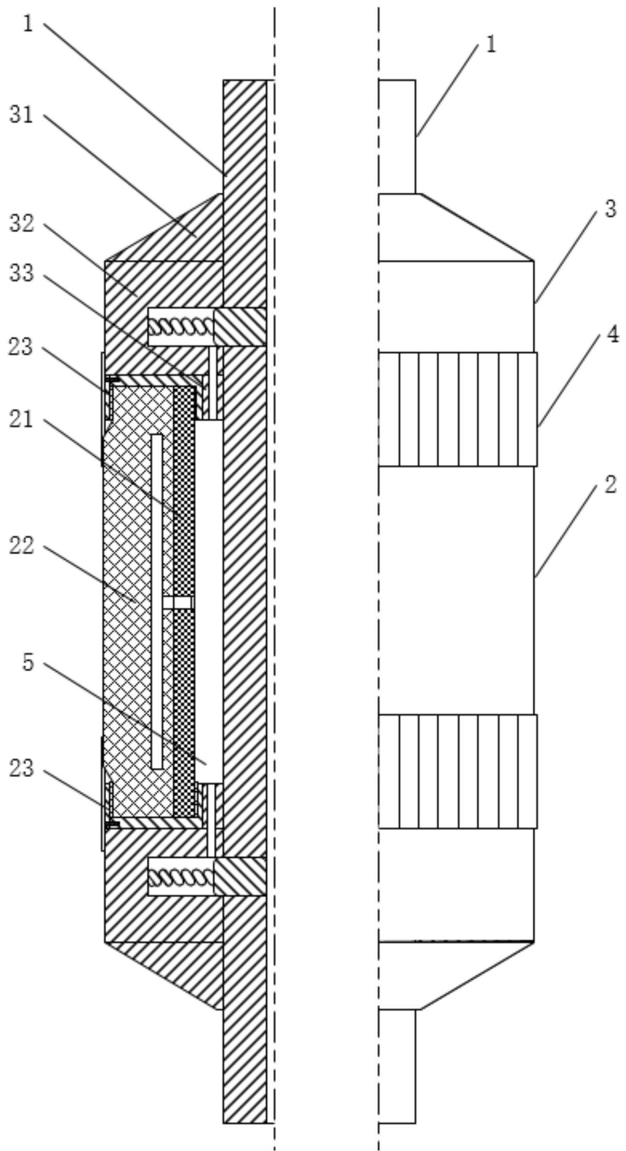
y111封隔器结构图

封隔器图形
图片尺寸1034x1448
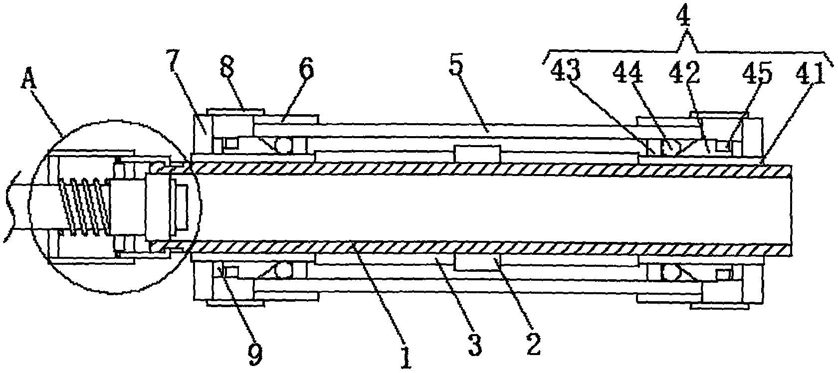
一种封隔器
图片尺寸775x2614
深井压裂酸化封隔器研制与应用
图片尺寸968x1016
一种具有坐封启动锁定功能的y111型压缩式封隔器制造技术
图片尺寸382x511
封隔器图形
图片尺寸997x1455
背景技术:封隔器是油井措施不可缺少的井下工具,其中y111封隔器是结构
图片尺寸429x1000
封隔器,配水器参数
图片尺寸580x477
一种套管外封隔器
图片尺寸1220x2241
一种高可靠性的隔离封隔器
图片尺寸1680x748
cn2223776y_鞋式封隔器失效
图片尺寸800x993
封隔器的制作方法
图片尺寸411x1000
一种可控降解的双卡瓦压裂封隔器的制作方法
图片尺寸1000x297
一种新型皮碗封隔器
图片尺寸598x235
一种分层压裂式可洗封隔器制造技术
图片尺寸327x513
一种油气井用环空机械封隔封隔器
图片尺寸432x897
首页 >> 完井工具二,结构与工作原理 1,结构: y453永久式插管封隔器
图片尺寸596x638
cn201152160y_一种水平井压裂的液压座封封隔器失效
图片尺寸992x2352
封隔器的制作方法
图片尺寸321x1000
液控封隔器同心双管分层注水工艺管柱的研究及应用
图片尺寸988x856
y341堵水封隔器 采油层 支撑器 定压球座
图片尺寸1080x810