哑铃型社会结构

美国正在从"橄榄型社会"走向"哑铃型社会".
图片尺寸331x213
哑铃型的结构
图片尺寸640x394
普天铁心由橄榄型企业向哑铃型企业转变
图片尺寸1154x434
2024年快速调节哑铃解码篇ativafit海德等6大品牌全方位实测性价比一
图片尺寸1071x796
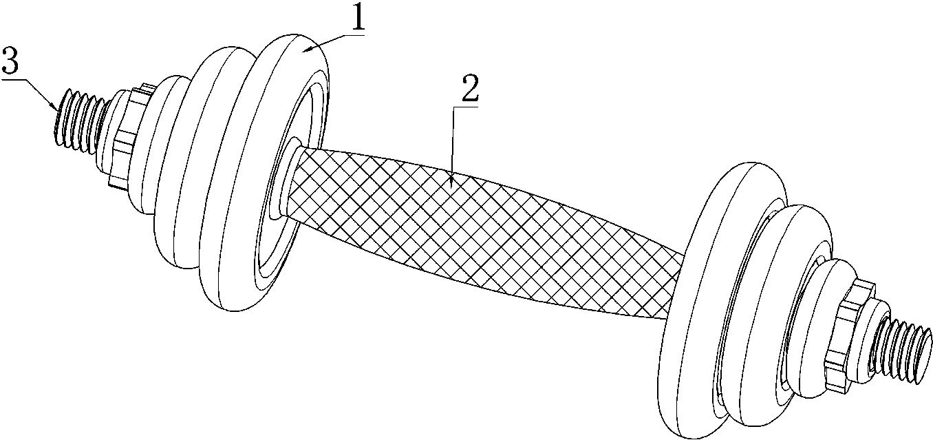
新型哑铃结构
图片尺寸1356x639
①按劳分配获得的收入②通过社会再分配获得的收入③生产要素按贡献
图片尺寸374x293
简述人类有史以来最严重经济危机——大萧条
图片尺寸650x382
下面是橄榄型社会(图1)和哑铃型社会(图2)结构示意图.
图片尺寸330x203
一种方便更换配重的哑铃的制作方法
图片尺寸1000x720
一种安全型哑铃的制作方法
图片尺寸773x508
一种可快速拆装的哑铃装配结构的制作方法
图片尺寸1000x655
一种重量可调节哑铃的制作方法
图片尺寸1000x954
cn108096769a_健身哑铃在审
图片尺寸1416x1205
一种体育锻炼用便于调节的哑铃结构
图片尺寸1420x1106
改进的哑铃结构制造技术
图片尺寸1000x695
新媒体产业 价值链环节结构从价值比重来看,呈现出明显的哑铃型分布
图片尺寸220x130
3 餐饮品牌抗风险能力凸显,餐饮结构从"哑铃型"转化为 "纺锤型"
图片尺寸1244x900
一种电控共享式哑铃制造技术
图片尺寸1000x442
张磊:我们的"第二哑铃战略"是深度赋能创造社会价值
图片尺寸518x263
男士健身器材家用哑铃
图片尺寸800x800