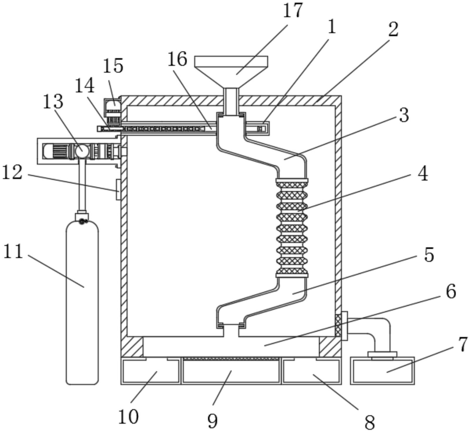
固液分离机简图

污水固液分离装置
图片尺寸1509x2488
cn202078970u_新型离心式固液分离机失效
图片尺寸2064x1472
一种离心式固液分离机的制作方法
图片尺寸1000x943
高效垃圾固液分离机的制作方法
图片尺寸1000x559
一种养殖场用固液分离机的制作方法
图片尺寸968x1000
教你如何选择适合自己的离心式固液分离机
图片尺寸600x357
固液分离机原理
图片尺寸530x488
cn207342782u_新型餐厨垃圾固液分离处理机有效
图片尺寸1457x1172
固液分离设备
图片尺寸600x357
一种梭阀卸料管式固液分离机
图片尺寸1815x2779
cn203408543u_有机物固液分离机失效
图片尺寸1000x623
一种立式固液分离设备的固液分离工艺的制作方法
图片尺寸946x1000
螺旋固液分离机
图片尺寸691x280
固液分离机的制作方法
图片尺寸1000x674
一种斜筛式固液分离机的制作方法
图片尺寸986x1000
一种新型固液分离机制造技术
图片尺寸780x1000
养殖粪水固液分离设备
图片尺寸1605x1476
一种固液分离机的制作方法
图片尺寸1000x867
一种固液分离方法
图片尺寸281x360
方赫环保 固液分离机 污水处理设备
图片尺寸921x603