座板装置图解

座椅上的那些点,你get到了吗
图片尺寸414x490
汽车座椅系统介绍
图片尺寸1080x810
由工作绳,下降器,连接器和座板装置组成
图片尺寸533x289
doctorsem丨汽车座椅为什么会这么舒服呢
图片尺寸602x618
综述汽车座椅行业
图片尺寸700x476
海格汽车座椅方案 - 副本ppt
图片尺寸1080x810
12 学习任务十二 电动座椅不能调整的检修ppt
图片尺寸1080x810
汽车座椅的组件拆解解析图.
图片尺寸658x512
型室主义儿童学习桌书桌椅套装儿童写字桌幼儿园课桌椅宝宝绘画板
图片尺寸790x926
汽车电动座椅系统ppt
图片尺寸1080x810
安全消防救生装置及其产品制造技术
图片尺寸1000x928
2-5 鞍式支座
图片尺寸1080x810
贴片铝电解电容器上座板装置的制作方法
图片尺寸970x1000
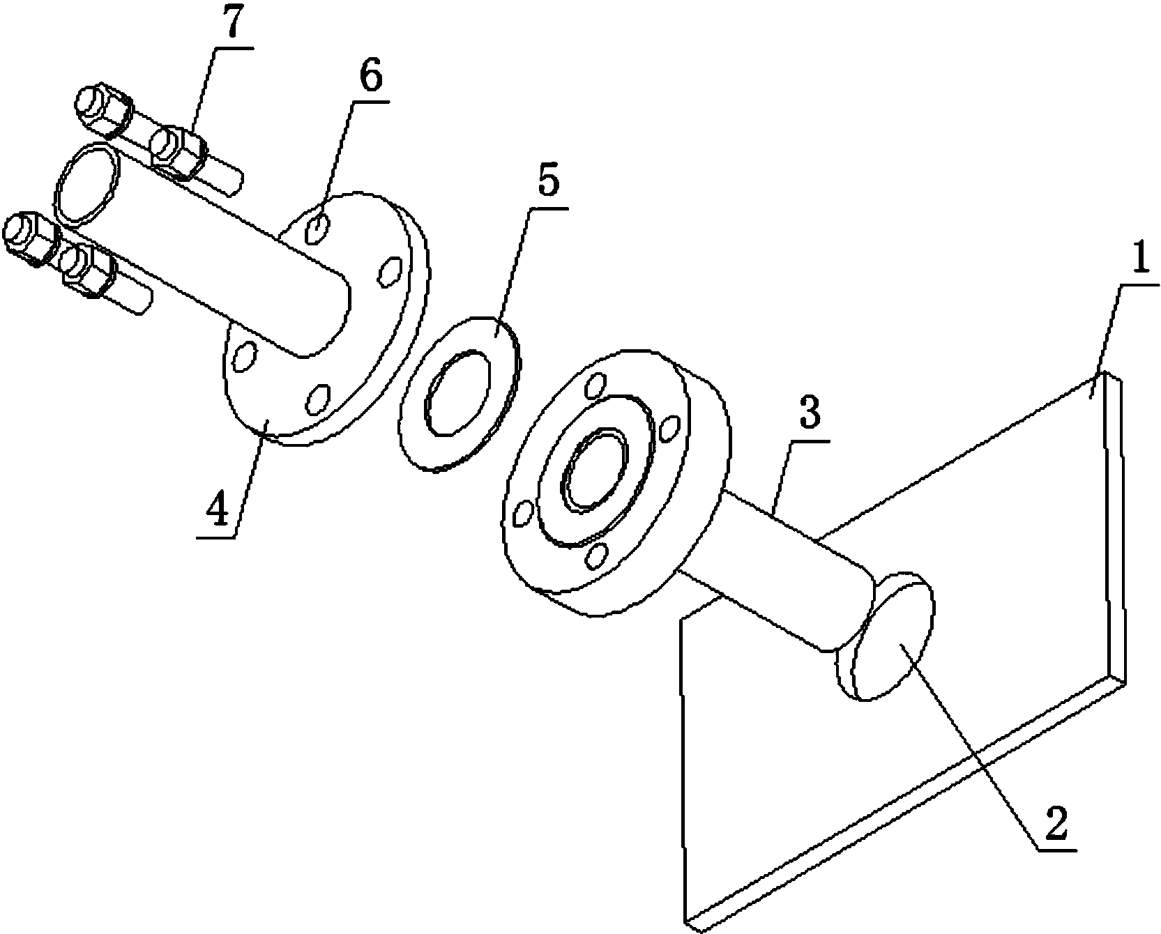
一种船用单面座板的安装装置
图片尺寸1665x1340
贴片铝电解电容器上座板装置
图片尺寸1750x1803
墩式台座构造示意图
图片尺寸373x437
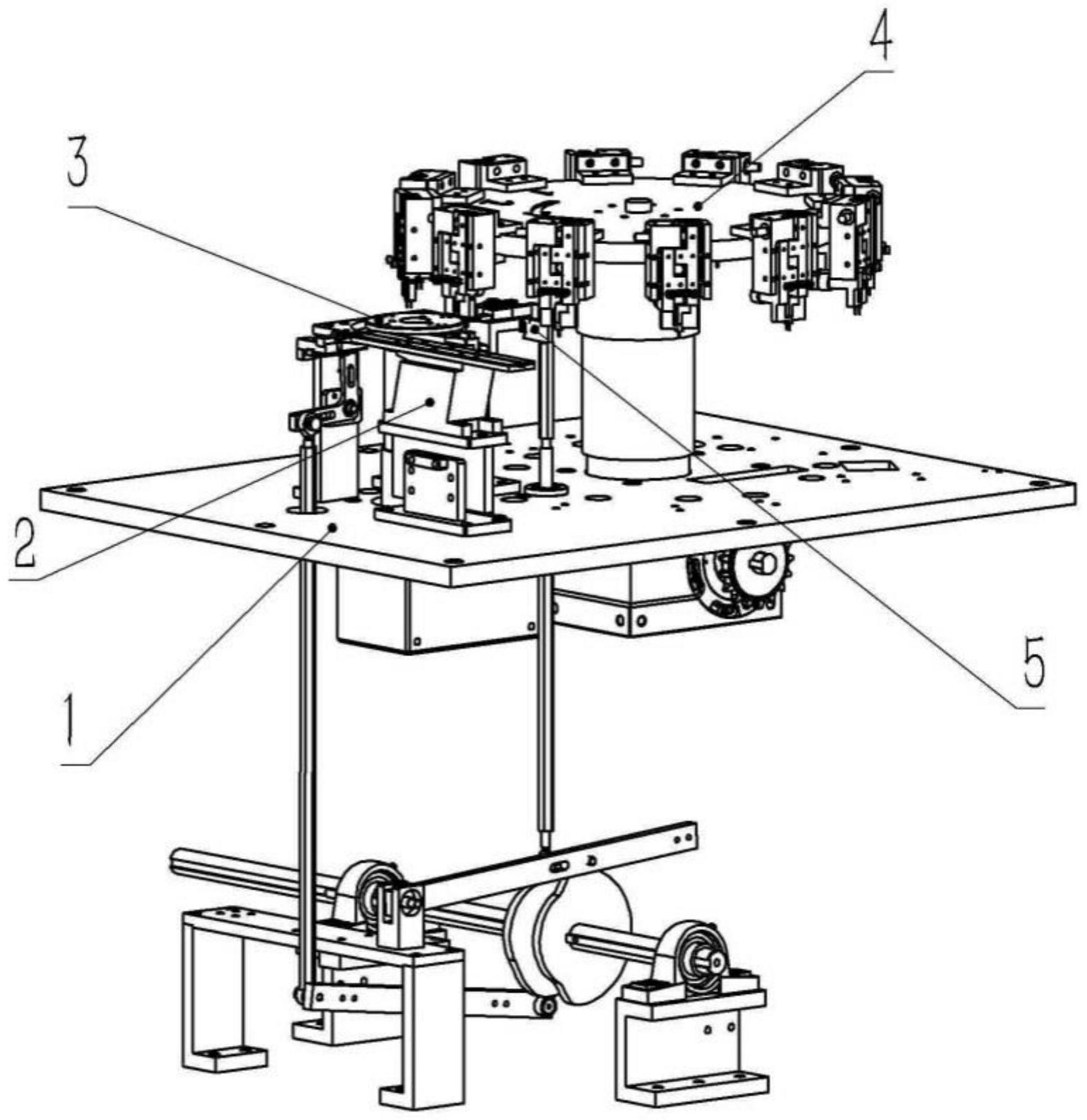
辅助安装设备装置技术领域;它包括支撑框架,在支撑框架上设置有抱箍座
图片尺寸800x569
载作业人员的装置,由吊带,衬带,拦腰带和座板组成.
图片尺寸287x401
防尘板座除锈装置和方法
图片尺寸1936x1928
容器裙座
图片尺寸369x600