洗洁精泵头拆解图

洗发水泵 33/410 玻璃瓶乳液泵手乳液泵
图片尺寸630x630
5kw150/250kg压力泵头
图片尺寸790x909
工厂白色现货43mm泡沫泵头按压起泡器洁面洁牙慕斯清洁剂泡沫泵头
图片尺寸800x1229
厂家专业生产 乳液泵头 化妆瓶泵头 定型水泵头 塑料泵头
图片尺寸800x800
厂家直销化妆品包装abs材质乳液泵头洗发水沐浴露塑料按压泵头
图片尺寸626x1024
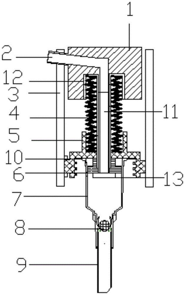
一种用于高压清洗机的泵的制作方法
图片尺寸1000x712
洗洁精按压头斧牌泵头洗发水压嘴喷头乳液瓶子铸牌源洗洁精按压
图片尺寸800x800
洗洁精压取器厨房水槽用皂液瓶延长管菜盆洗涤剂按压神器自动泵头
图片尺寸750x1000
洗洁精泵头 洗洁精按头 洗洁精压泵 厂家直销出货快
图片尺寸750x750
cn209601171u_一种节能环保定量型洗衣液泵头有效
图片尺寸629x1000
日用品包材 28/410按压式乳液泵 洗手液沐浴露喷头 手压式乳液泵
图片尺寸750x1393
工厂定制磨砂瓶身体乳液瓶按压式泵头化妆品卸妆油瓶塑料喷头包装
图片尺寸790x449
妈妈壹选洗洁精泵头亮绿亮蓝压头喷嘴手压式通用压取器乳液压嘴头
图片尺寸800x800
洗发水替换按压泵头家用洗手液洗洁精按压嘴沐浴露乳液按压式泵头
图片尺寸800x800
新款乳液泵 洗洁精泵头 洗发水按压泵头
图片尺寸3024x3024
洗洁精液器压取器厨房水槽按压洗涤剂皂液延长泵头神器加高dsd01
图片尺寸1080x1080
axe斧头牌洗洁精泵头按压头2个家用按压嘴厨房通用不含洗洁精
图片尺寸800x800
加高黑色水槽皂液器延长管厨房洗洁精压取器菜盆洗涤剂按压泵头
图片尺寸900x1200
55/58型高压维修理洗车泵头总成清洗机配件高压水枪水管全铜总成
图片尺寸790x1041
厨房水槽洗洁精通用压取器厨房皂液器水槽用 304不锈钢银拉丝泵头十1
图片尺寸800x800