电流镜电路

图2 低压共源共栅电流镜1图3 低压共源共栅电流镜
图片尺寸2585x1115
三种常见共源共栅电流镜电路浅析
图片尺寸2143x928
经典镜像电流源应用电路分析!
图片尺寸450x650
一种大电流高输出阻抗电流镜的设计
图片尺寸897x1366
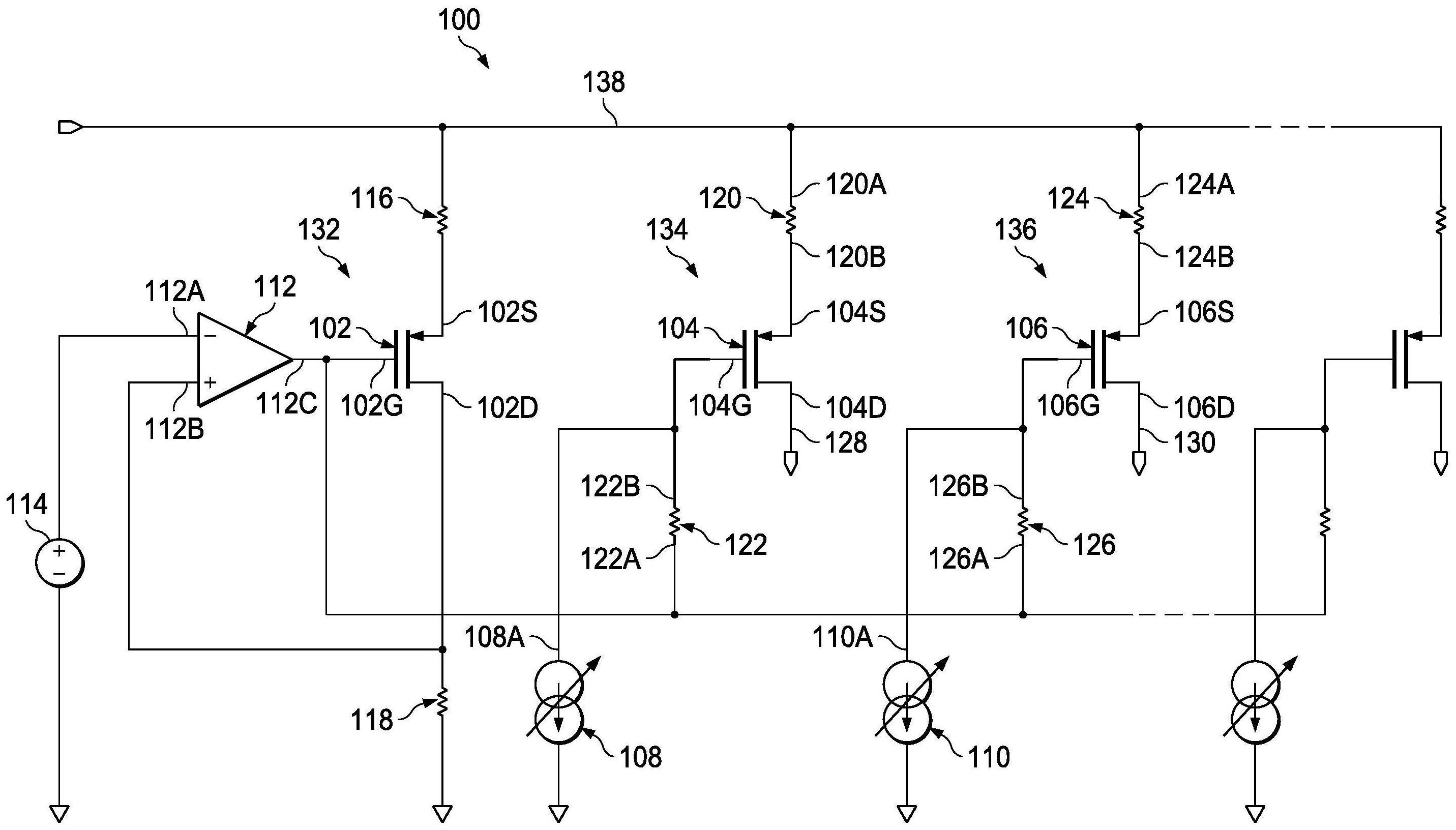
一种电流镜电路
图片尺寸800x1287
关于电流镜的问题
图片尺寸365x347
低电压余度高精度电流镜专利_专利申请于2020-10-30
图片尺寸1683x1063
图1 电流镜测试电路.
图片尺寸669x627
一种电流镜电路
图片尺寸1875x2028
一种快速电流镜电路
图片尺寸1489x1352
【电路赏析】电流镜电路
图片尺寸350x521
电流镜电路8.jpg
图片尺寸688x380
一种电流镜电路
图片尺寸924x1000
电流镜电路
图片尺寸2863x1632
电流镜原理图(假设三个管子的是参数理想一致的情况)
图片尺寸729x670
电流镜电路14.jpg
图片尺寸784x461
一 电流镜简述 电流镜是模拟电路里的一个基本单元,可以用于复制电流
图片尺寸745x487
【电路赏析】电流镜电路
图片尺寸500x557
电流镜电路的制作方法
图片尺寸1000x712
【求助】关于拉扎维p117页电流镜抑制沟道的推导
图片尺寸3024x1950