立式包装机结构

一种便于造型封边的自动化立式包装机的制作方法
图片尺寸475x578
废纸立式液压打包机塑料薄膜打捆机编织袋纸皮压缩打包机
图片尺寸796x400
包装机基本结构简图
图片尺寸2684x1610
粉末包装机圆角多列奶粉定量包装机孜然粉立式全自动螺杆包装机
图片尺寸1440x1920
一种全自动化立式包装机
图片尺寸1344x1625
立式颗粒包装机_12.jpg
图片尺寸790x1257
包装机结构图
图片尺寸957x688
hw150-4-960小件产品装盒机-包装印刷产业网
图片尺寸845x596
一种新型定量包装机的设计
图片尺寸726x507
自动多列四边封颗粒包装机械白糖颗粒包装机干燥剂颗粒包装机
图片尺寸750x750
立式纸盒自动包装机的制作方法
图片尺寸538x710
立式废纸液压打包机塑料瓶易拉罐编织袋金属捆扎机
图片尺寸950x811
一种pe膜立式包装机的制作方法
图片尺寸884x1000
立式打包机结构图
图片尺寸724x445
cn101181936b_复合膜m形侧边立式包装机有效
图片尺寸1924x2136
cn207843401u_一种立式多道雪糕包装机有效
图片尺寸1726x1199
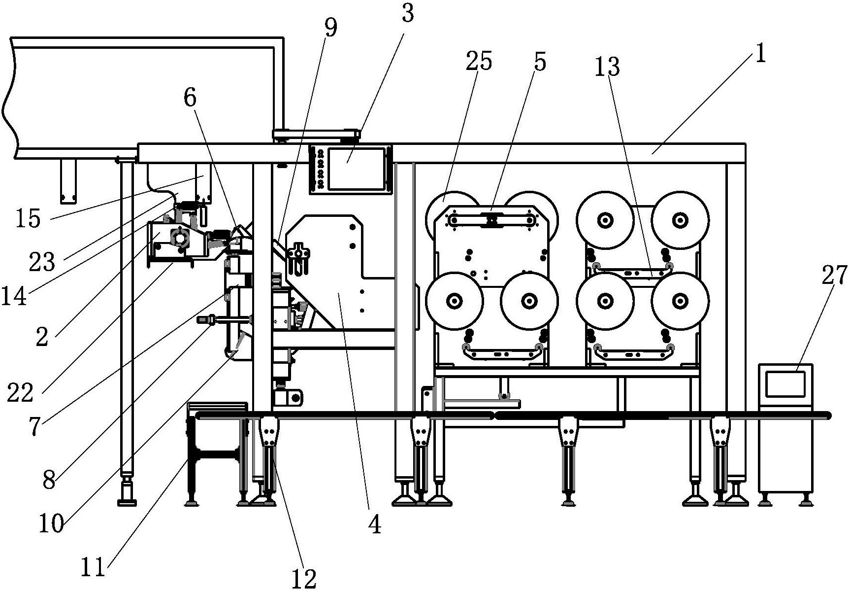
cn209739480u_一种高速全自动立式卷膜制袋包装机有效
图片尺寸915x1000
花生瓜子立式包装机 机械化操作便捷
图片尺寸1600x1500
10g包装机
图片尺寸640x852
一种土豆片用立式包装机
图片尺寸1000x905