铧式犁结构

铧式犁由哪些零部件组成?
图片尺寸1157x548
近年来铧式犁的结构特点和发展趋势
图片尺寸499x339
铧式犁_农业百科_百问中文
图片尺寸400x380
液压翻转犁 大型栅条镜面犁 深耕反转单双向耕地犁 农用翻地铧式犁
图片尺寸750x750
恩艺 四轮拖拉机铧式犁耕地犁铧犁加厚加重双铧犁翻转犁1l-20/25系列
图片尺寸750x689
一种铧式犁的制作方法
图片尺寸1000x386
20系列铧式犁为全悬挂式,与标定功率为15-50hp拖拉机配套作业.
图片尺寸750x1145
铧式犁构造和悬挂犁机组的使用与调整优质二类
图片尺寸920x1302
cn2527071y_一种铧式犁失效
图片尺寸709x586
供应悬挂小型铧式犁铧犁供应加工2铧犁3铧犁4铧犁
图片尺寸800x901
是 货号 31 类型 铧式犁
图片尺寸750x527
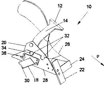
cn207099568u_一种铧式犁结构有效
图片尺寸337x275
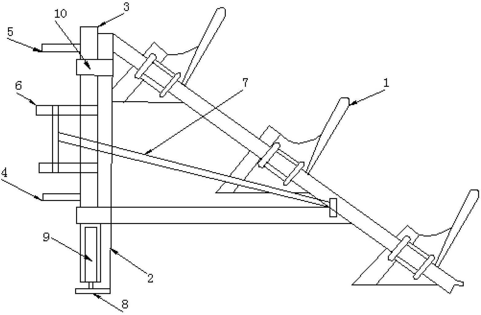
摘要附图摘要本发明公开了一种铧式犁用调节装置,包括三角形结构的犁
图片尺寸1183x1009
农机技术综述ppt
图片尺寸1080x810
铧式犁图纸
图片尺寸305x364
它包括单项悬挂铧式犁以及机械调节结构组成,铧式犁的横梁前端设右
图片尺寸1568x1027
舒弗开沟犁手拉犁人力微耕机开沟器起垄器耕地犁拉犁捞犁铧式犁耕种器
图片尺寸800x800
量(99台可售)立即订购加入进货单支付方式1l-720铧式犁主要用途特点
图片尺寸771x616
双铧犁 液压翻转犁 三点悬挂农用翻转犁 热卖铧式犁
图片尺寸1629x1920
钵施然1lft-450型液压翻转调幅铧式犁
图片尺寸750x602