y341封隔器结构图

封隔器图形
图片尺寸1034x1448
一种封隔器
图片尺寸775x2614
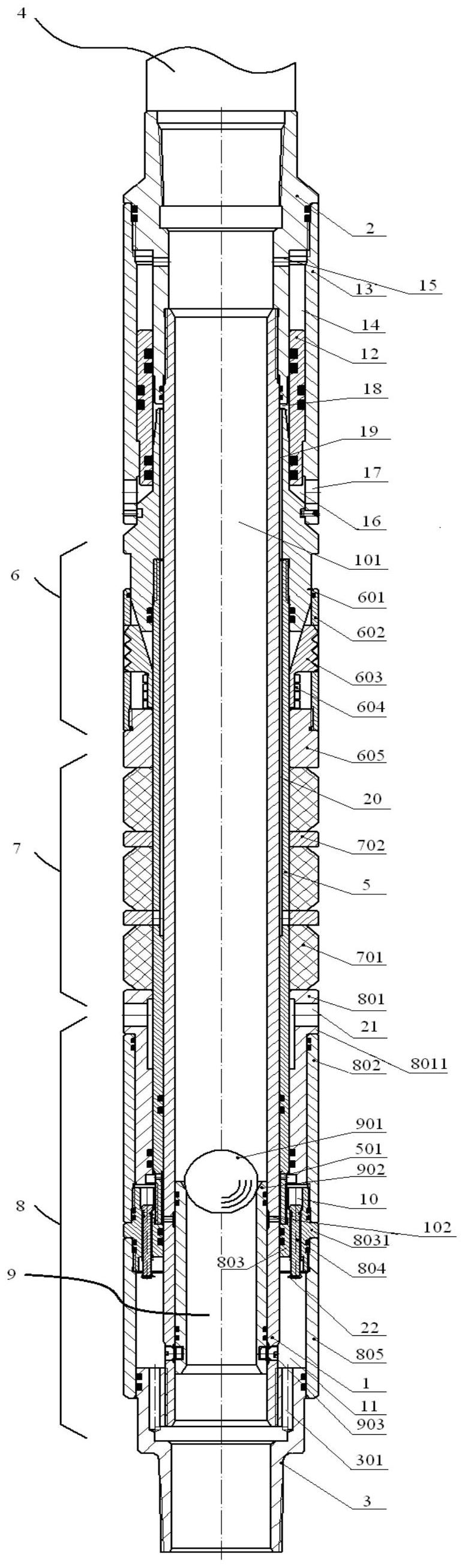
y341反洗通道打开是油管内外压差造成的,y341封隔器采用液压回位方式
图片尺寸580x477
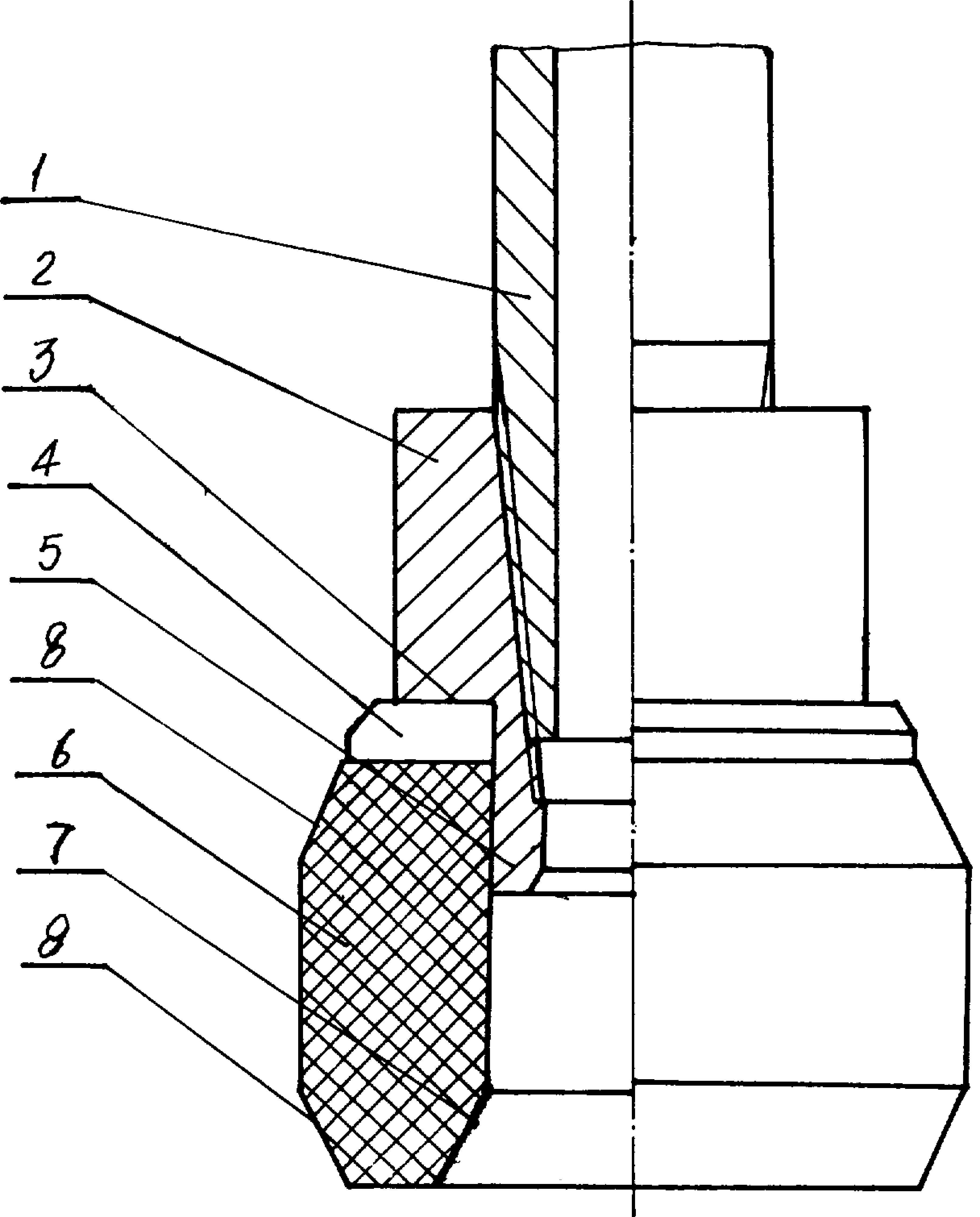
油井分层注水用kz344-114型扩张式封隔器k 3 4 l4型扩张式封隔器结构
图片尺寸1410x2072
深井压裂酸化封隔器研制与应用
图片尺寸968x1016
封隔器图形
图片尺寸997x1455
一种油田井场便捷可修复水井封隔器的制作方法
图片尺寸716x1000
封隔器的制作方法
图片尺寸321x1000
y341114型封隔器
图片尺寸820x388
cn200982174y 微信扫码查看/分享专利 摘要:大通道压缩式可洗井封隔器
图片尺寸800x1153
cn201330577y 公开(公告)日 2009-10-21 发明名称 防垢封隔器
图片尺寸2598x642
cn2223776y_鞋式封隔器失效
图片尺寸800x993
一种可控降解的双卡瓦压裂封隔器的制作方法
图片尺寸1000x297
液力膨胀式可洗井封隔器的制作方法
图片尺寸1000x770
y341封隔器介绍作业一公司五队刘剑答案ppt
图片尺寸1080x810
y341 110mm hbzj-120℃-18封隔器图纸与工作原理
图片尺寸2140x1939
一种深水封隔器制造技术,y221封隔器专利_技高网
图片尺寸286x434
一种油气井用环空机械封隔封隔器
图片尺寸432x897
鞋式封隔器
图片尺寸3648x4530
cn201152160y_一种水平井压裂的液压座封封隔器失效
图片尺寸992x2352